授权公布号:CN214932158U
鼻部冲洗器瓶盖组件
有效
申请
2021-05-12
申请公布
1970-01-01
授权
2021-11-30
预估到期
2031-05-12
| 申请号 | CN202121014927.2 |
| 申请日 | 2021-05-12 |
| 授权公布号 | CN214932158U |
| 授权公告日 | 2021-11-30 |
| 分类号 | B65D47/06;A61H35/04 |
| 分类 | 输送;包装;贮存;搬运薄的或细丝状材料; |
| 申请人名称 | 江苏爱护佳健康科技有限公司 |
| 申请人地址 | 江苏省盐城市盐城经济技术开发区长江路19号 |
专利法律状态
2023-11-10
专利实施许可合同备案的生效、变更及注销
状态信息
专利实施许可合同备案的生效;IPC(主分类):B65D 47/06;专利申请号:2021210149272;专利号:ZL2021210149272;合同备案号:X2023980044045;让与人:江苏爱护佳健康科技有限公司;受让人:盐城市艾润电器有限公司;实用新型名称:鼻部冲洗器瓶盖组件;申请日:20210512;授权公告日:20211130;许可种类:普通许可;备案日期:20231024
2021-11-30
授权
状态信息
授权
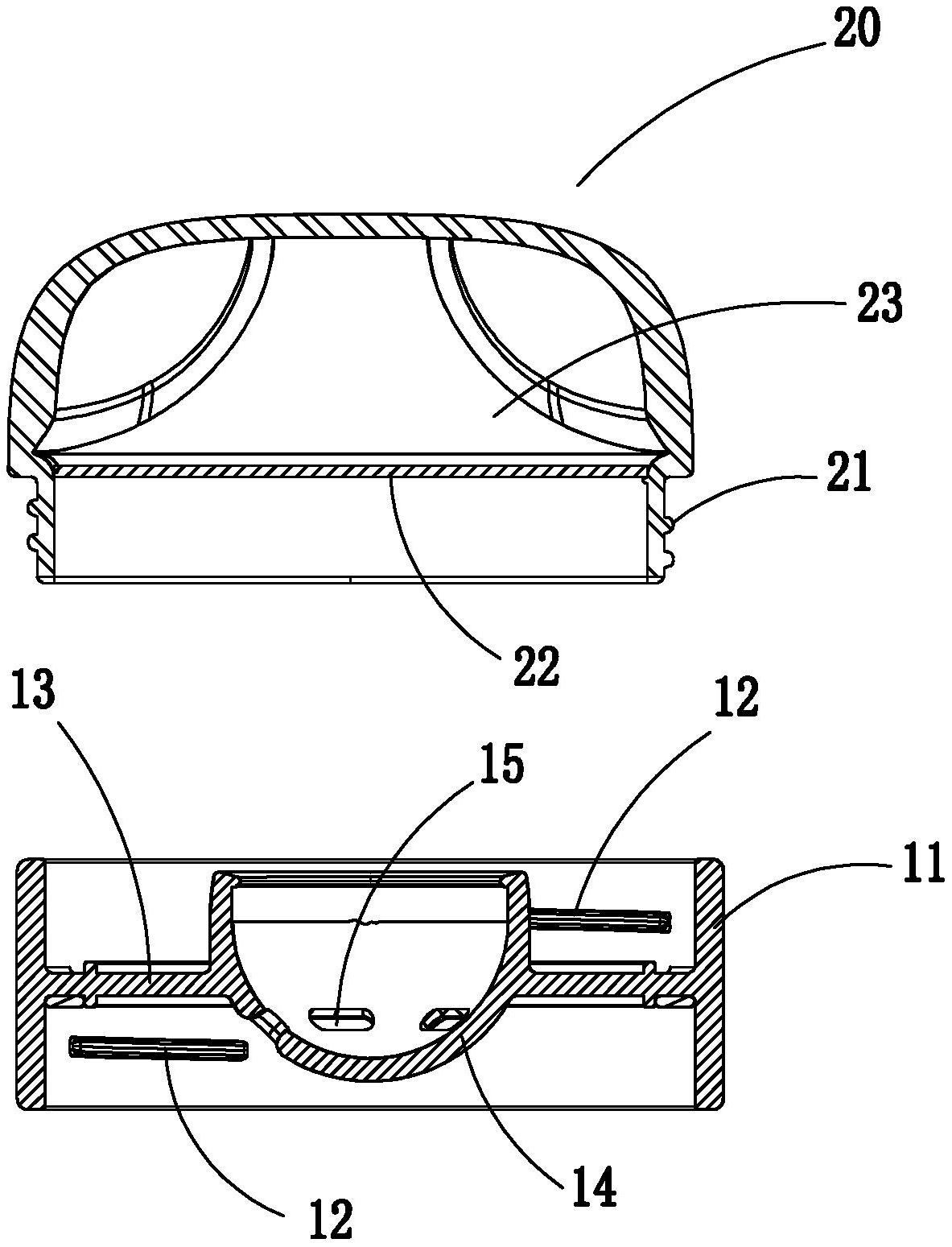
摘要
本实用新型涉及鼻部冲洗器瓶盖组件,该组件包括下盖和顶盖;下盖包括圆柱形盖环,该圆柱形盖环的顶口和底口均设有内螺纹,该圆柱形盖环内横设有隔断其顶口和底口的盖面,盖面中央设有一个供喷嘴装置插接的顶开式的半球形凹槽,半球形凹槽的顶部突出盖面上方、底部突出盖面下方,该半球形凹槽的下突部侧壁环设有多个通孔;顶盖的底口设有用于与下盖底口的内螺纹相旋接的外螺纹,顶盖的盖腔内横设有活动隔板,活动隔板在顶盖的盖腔内隔出一个用于存放药包和盐包的储存室。本实用新型有利于保护鼻部冲洗器喷嘴。


