授权公布号:CN218394760U
聚碳酸脂塑胶粒质量检测仪器
有效
申请
2022-09-02
申请公布
1970-01-01
授权
2023-01-31
预估到期
2032-09-02
| 申请号 | CN202222345456.4 |
| 申请日 | 2022-09-02 |
| 授权公布号 | CN218394760U |
| 授权公告日 | 2023-01-31 |
| 分类号 | B07C5/00;B07C5/342;B07C5/02;G01N15/00;G01N15/02 |
| 分类 | 将固体从固体中分离;分选; |
| 申请人名称 | 杭州国辰机器人科技有限公司 |
| 申请人地址 | 浙江省杭州市萧山区博奥路1728号A座5楼 |
专利法律状态
2023-01-31
授权
状态信息
授权
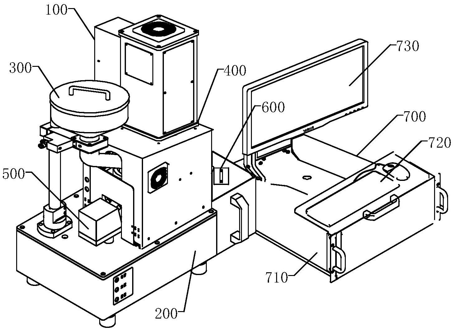
摘要
本实用新型公开了一种聚碳酸脂塑胶粒质量检测仪器,包括检测端;检测端上设置有控制柜以及与控制柜连接的送料装置、检测装置、直振送料器,检测端还设置有接料盒;送料装置包括连接杆、储料漏斗、弯管;检测装置包括图像采集装置、胶粒检测器;图像采集装置设置在胶粒检测器顶部,图像采集装置包括相机、镜头、位移台;胶粒检测器包括光源、第三外罩、观测窗口;直振送料器顶部设置有共振底板,共振底板上设置有中转仓,中转仓与弯管底部连接;中转仓上设置有阀门,阀门外部设置有防静电背景板。待检测聚碳酸脂塑胶粒通过送料装置进入检测装置中,然后自动落抖均匀铺平在直振送料器中,杂质易分辨,相比人工检测效率较高,且漏检率低。


