授权公布号:CN106005859B
一种轨道式禽类尸体机械运输及仓储的系统
有效
申请
2016-07-07
申请公布
2016-10-12
授权
2023-03-24
预估到期
2036-07-07
| 申请号 | CN201610547772.6 |
| 申请日 | 2016-07-07 |
| 申请公布号 | CN106005859A |
| 申请公布日 | 2016-10-12 |
| 授权公布号 | CN106005859B |
| 授权公告日 | 2023-03-24 |
| 分类号 | B65G1/04;B65G17/12 |
| 分类 | 输送;包装;贮存;搬运薄的或细丝状材料; |
| 申请人名称 | 杭州国辰机器人科技有限公司 |
| 申请人地址 | 浙江省杭州市萧山经济开发区建设二路98号 |
专利法律状态
2023-03-24
授权
状态信息
授权
2016-10-12
公布
状态信息
公布
摘要
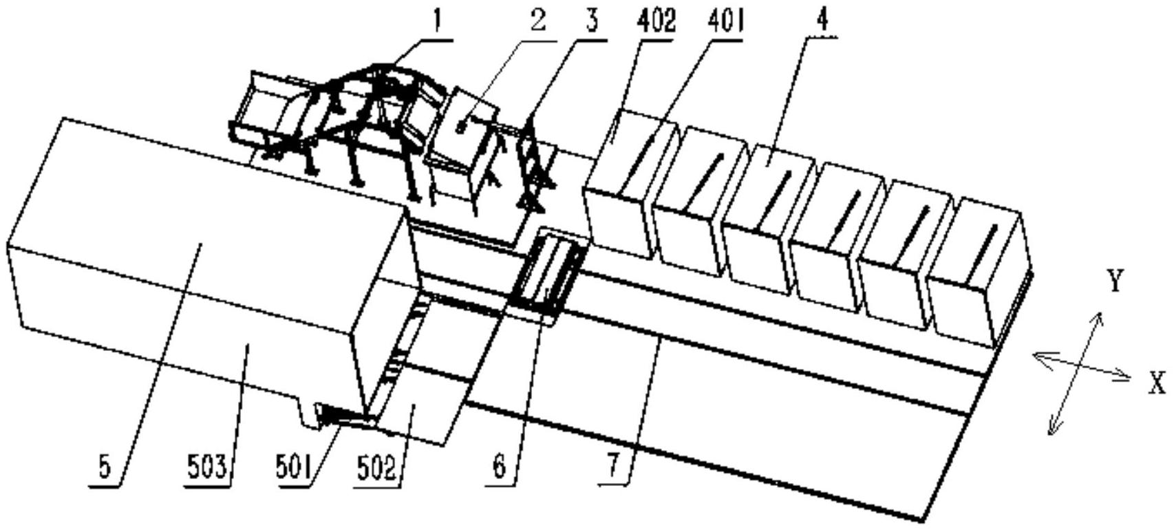
本发明公开了一种轨道式动物尸体机械运输及独立仓储系统,包括自动装箱提升装置(1)、中转箱(2)、开盖装置(3)、独立仓储装置(4)、转运车(5)、轨道搬运车(6)、运输轨道(7),自动装箱提升装置(1)、中转箱(2)、开盖装置(3)、独立仓储装置(4)依次平行、设置在运输轨道(7)一侧;轨道搬运车(6)与运输轨道(7)滚动连接,轨道搬运车(6)托运中转箱(2)沿运输轨道(7)移动至独立仓储装置(4)。本发明避免了动物尸体在收集、转运、仓储过程中与人员的二次接触,有效控制疫情、病毒的传播;若干个独立冷柜的仓储装置设计,实现了根据动物尸体收集量的多少进行独立冷藏的效果,降低能耗。


