授权公布号:CN107237460B
一种强支撑、安全型装配式钢结构体系悬挂装饰板龙骨
有效
申请
2017-07-28
申请公布
2017-10-10
授权
2022-10-25
预估到期
2037-07-28
| 申请号 | CN201710630171.6 |
| 申请日 | 2017-07-28 |
| 申请公布号 | CN107237460A |
| 申请公布日 | 2017-10-10 |
| 授权公布号 | CN107237460B |
| 授权公告日 | 2022-10-25 |
| 分类号 | E04F10/08 |
| 分类 | 建筑物; |
| 申请人名称 | 江苏沪宁钢机股份有限公司 |
| 申请人地址 | 江苏省无锡市宜兴市张渚镇百家村 |
专利法律状态
2022-10-25
授权
状态信息
授权
2021-04-20
著录事项变更
状态信息
著录事项变更;IPC(主分类):E04F 10/08;专利申请号:2017106301716;变更事项:申请人;变更前:江苏沪宁钢机股份有限公司;变更后:江苏沪宁钢机股份有限公司;变更事项:地址;变更前:214200 江苏省无锡市宜兴市张诸镇百家村;变更后:214200 江苏省无锡市宜兴市张渚镇百家村;变更事项:申请人;变更前:江苏沪宁装配式建筑工程有限公司;变更后:江苏沪宁装配式建筑工程有限公司
2017-11-07
实质审查的生效
状态信息
实质审查的生效;IPC(主分类):E04F 10/08;专利申请号:2017106301716;申请日:20170728
2017-10-10
公布
状态信息
公布
摘要
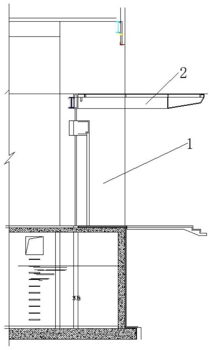
本发明公开了一种强支撑、安全型装配式钢结构体系悬挂装饰板龙骨,包括:门厅,所述门厅上设有悬挑外挂门头板,其中,所述悬挑外挂门头板上设有外挑悬挂门头板龙骨体系和ALC墙板,所述外挑悬挂门头板龙骨体系设于楼层钢梁部位,所述ALC墙板外挂于外挑悬挂门头板龙骨体系上。本发明中所述的一种强支撑、安全型装配式钢结构体系悬挂装饰板龙骨,其通过在门厅上设置了悬挑外挂门头板,并在悬挑外挂门头板上设置了外挑悬挂门头板龙骨体系和ALC墙板,对门厅的结构进行了很大的优化,大大的提高了其整体对门厅的支撑性能和使用的安全性,让其更好的满足施工的后期使用的需求。


