授权公布号:CN101581661B
多参数集成式比色池
有效
申请
2009-06-25
申请公布
2009-11-18
授权
2012-06-20
预估到期
2029-06-25
| 申请号 | CN200910087913.0 |
| 申请日 | 2009-06-25 |
| 申请公布号 | CN101581661A |
| 申请公布日 | 2009-11-18 |
| 授权公布号 | CN101581661B |
| 授权公告日 | 2012-06-20 |
| 分类号 | G01N21/03;G01N21/31;G01N21/78 |
| 分类 | 测量;测试; |
| 申请人名称 | 长春吉大·小天鹅仪器有限公司 |
| 申请人地址 | 吉林省长春市高新区创新路1203号 |
专利法律状态
2012-06-20
授权
状态信息
授权
2010-01-13
实质审查的生效
状态信息
实质审查的生效
2009-11-18
公布
状态信息
公布
摘要
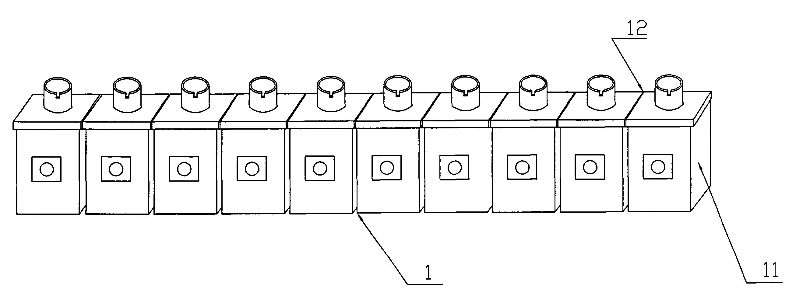
本发明公开了一种多参数集成式比色池,它由多个比色池单体组成,相邻比色池单体之间通过连接板连接,单体比色池中设发热单元。本发明多参数集成式比色池中比色池单体数量和形式可任意组合,且单体比色池中含有加热元件,既做比色池,又做加热器,温度可任意设定,使用方便。本发明是现有比色池的更新替代产品,在光度分析仪中使用,提高了检测的稳定性、可靠性、和测量精度,可广泛应用于光度法的分析仪器中。


