授权公布号:CN211544173U
一种垃圾破袋装置
有效
申请
2019-12-31
申请公布
1970-01-01
授权
2020-09-22
预估到期
2029-12-31
| 申请号 | CN201922467425.4 |
| 申请日 | 2019-12-31 |
| 授权公布号 | CN211544173U |
| 授权公告日 | 2020-09-22 |
| 分类号 | B65B69/00 |
| 分类 | 输送;包装;贮存;搬运薄的或细丝状材料; |
| 申请人名称 | 山西易通环能科技集团有限公司 |
| 申请人地址 | 山西省长治市南环西街16号 |
专利法律状态
2022-07-15
专利权质押合同登记的生效、变更及注销
状态信息
专利权质押合同登记的生效;IPC(主分类):B65B69/00;登记号:Y2022140000033;登记生效日:20220629;出质人:山西易通环能科技集团有限公司;质权人:中国农业银行股份有限公司长治上党支行;实用新型名称:一种垃圾破袋装置;申请日:20191231;授权公告日:20200922
2020-09-22
授权
状态信息
授权
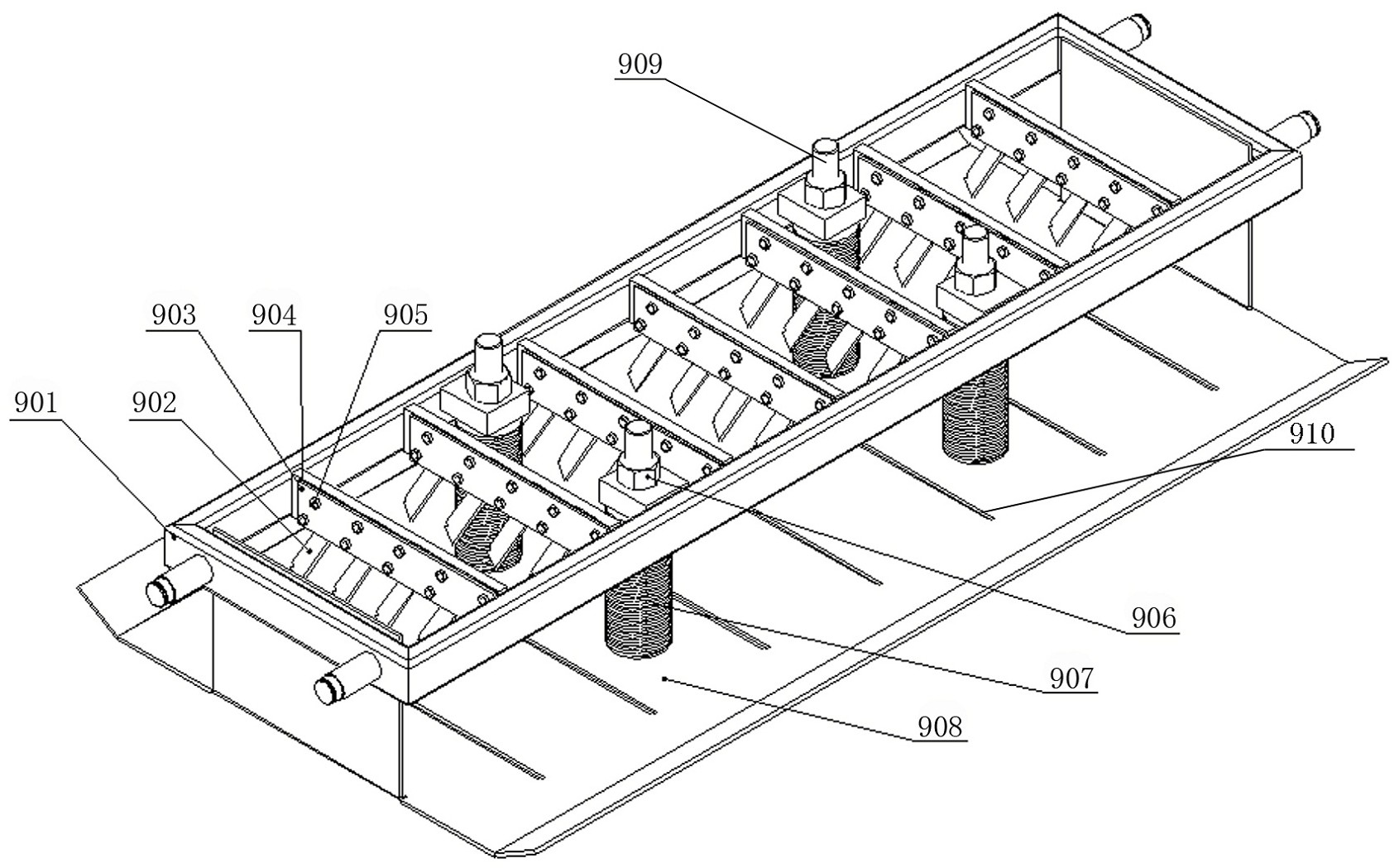
摘要
本实用新型提供了一种垃圾破袋装置,包括刀架主体、刀片、活动轴、压簧和压料板。所述活动轴固定连接在刀架主体上,压料板通过活动轴活动连接至刀架主体下方,压簧以活动轴为中心设置,固定于刀架主体上。所述刀架主体设置若干垂直于轴向的横梁,固定若干组刀片,所述压料板上有可插入刀片的刀缝。压料板下压至最底部时,刀架主体在压簧的作用下降速划动,插入刀缝中,刀架主体向上运动时,压料板在压簧的作用下回弹。可避免玻璃制品和建筑垃圾等被破袋装置破碎,预防较大垃圾破碎后混杂导致的分拣困难。


