授权公布号:CN113414047B
一种道路桥梁施工表面喷涂装置及其使用方法
有效
申请
2021-06-30
申请公布
2021-09-21
授权
2023-06-23
预估到期
2041-06-30
| 申请号 | CN202110740026.X |
| 申请日 | 2021-06-30 |
| 申请公布号 | CN113414047A |
| 申请公布日 | 2021-09-21 |
| 授权公布号 | CN113414047B |
| 授权公告日 | 2023-06-23 |
| 分类号 | B05B16/20;B05B9/04;B05B13/02;B05B13/04;B05B1/14;B05B12/32;B05B14/00;B05D3/04;B08B1/00 |
| 分类 | 一般喷射或雾化;对表面涂覆液体或其他流体的一般方法〔2〕; |
| 申请人名称 | 安本工业涂装(上海)有限公司 |
| 申请人地址 | 上海市松江区民强路655弄66号3幢-2 |
专利法律状态
2023-06-23
授权
状态信息
授权
2023-06-16
专利申请权、专利权的转移
状态信息
专利申请权的转移;IPC(主分类):B05B16/20;登记生效日:20230605;变更事项:申请人;变更前:王茹月;变更后:安本工业涂装(上海)有限公司;变更事项:地址;变更前:510000 广东省广州市海珠区南洲路32号;变更后:201600 上海市松江区民强路655弄66号3幢-2
2022-03-29
实质审查的生效
状态信息
实质审查的生效;IPC(主分类):B05B16/20;申请日:20210630
2021-09-21
公布
状态信息
公布
摘要
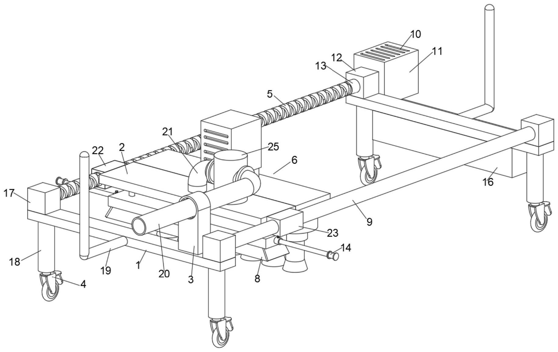
本发明公开了一种道路桥梁施工表面喷涂装置及其使用方法,属于道路桥梁施工用设备技术领域。一种道路桥梁施工表面喷涂装置及其使用方法,包括呈前后对称结构设置的两个固定板,两个固定板之间上方设有抽液泵,第一电机箱内设有第一电动机,主轴前端设有往复丝杠,带动块右端面上侧设有活动板,活动板后端面后侧设有防护组件,布液盒底面设有雾化喷头,抽液泵输出端端部设有送料管。本发明通过设置在第一电机箱内的第一电动机,主轴前端的往复丝杠以及布液盒底面的雾化喷头之间的的配合,布液盒及雾化喷头能够前后往复运动,对桥梁表面进行喷涂,无需工作人员对喷涂装置进行移动,保证对桥梁表面进行均匀喷涂,减少工作人员遭到涂料的损伤。


