授权公布号:CN216704829U
一种专用于工件阴角和凹陷区域的静电喷粉枪
有效
申请
2022-01-14
申请公布
1970-01-01
授权
2022-06-10
预估到期
2032-01-14
| 申请号 | CN202220091820.6 |
| 申请日 | 2022-01-14 |
| 授权公布号 | CN216704829U |
| 授权公告日 | 2022-06-10 |
| 分类号 | B05B15/68;B05B5/03 |
| 分类 | 一般喷射或雾化;对表面涂覆液体或其他流体的一般方法〔2〕; |
| 申请人名称 | 安本工业涂装(上海)有限公司 |
| 申请人地址 | 上海市松江区民强路655弄66号3幢-2 |
专利法律状态
2022-06-10
授权
状态信息
授权
摘要
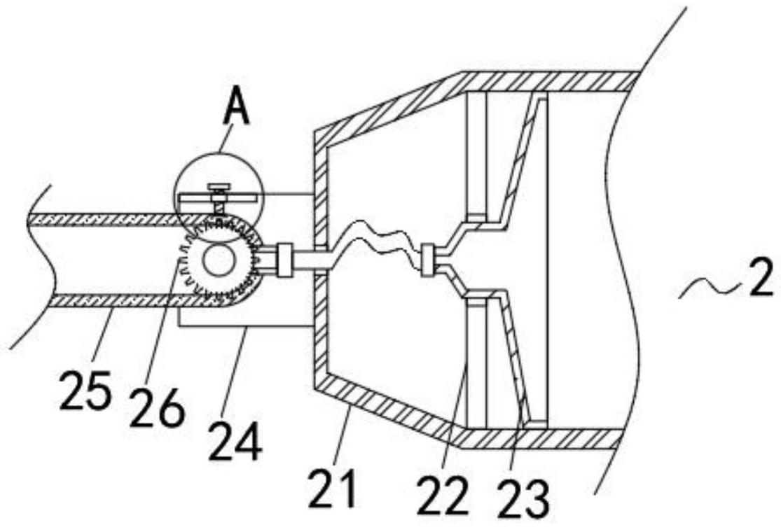
本实用新型涉及一种专用于工件阴角和凹陷区域的静电喷粉枪,属于喷粉枪技术领域。其主要针对现有设备在使用过程中难以对工件的阴角位置进行高效喷涂的问题,提出如下技术方案,包括喷枪主体与喷嘴组件,所述喷嘴组件包括有设置于喷枪主体上的连接套,连接套的内部设有隔板与集料斗,所述连接套的右侧外壁上对称设置有竖板。本实用新型通过各种结构的组合使得本装置不仅能够提高设备的喷涂效果及避免粉管的堵塞,且本装置通过设置喷嘴组件,从而使得其在对工件的阴角及凹陷区进行喷涂时能够通过调整针管的角度实现对工件的高效喷涂,取代现有技术中所采用的工件角度调节或喷枪持握方式的调整,提高喷涂效率,减轻工作人员的负担。


