授权公布号:CN217454884U
一种吹瓶机全自动瓶胚余料切除机构
有效
申请
2022-05-31
申请公布
1970-01-01
授权
2022-09-20
预估到期
2032-05-31
| 申请号 | CN202221341899.X |
| 申请日 | 2022-05-31 |
| 授权公布号 | CN217454884U |
| 授权公告日 | 2022-09-20 |
| 分类号 | B29C49/42 |
| 分类 | 塑料的加工;一般处于塑性状态物质的加工; |
| 申请人名称 | 全冠(福建)机械工业有限公司 |
| 申请人地址 | 福建省莆田市涵江区江口镇石庭开发区内 |
专利法律状态
2022-09-20
授权
状态信息
授权
摘要
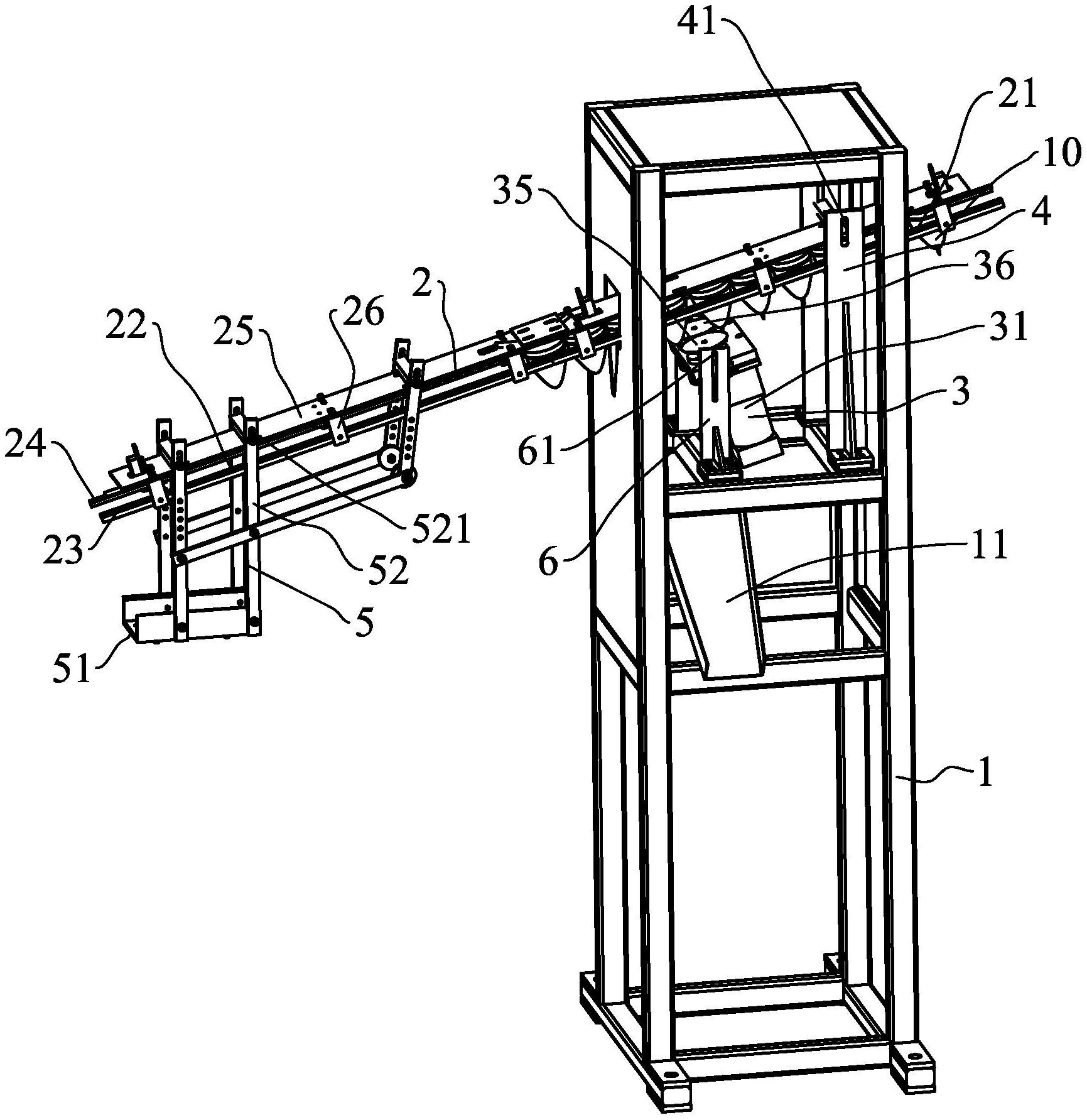
本实用新型公开一种吹瓶机全自动瓶胚余料切除机构,包括机架、滑轨组件以及切除组件;滑轨组件包括入料端及出料端,入料端的高度大于出料端的高度,滑轨组件可调节设置在机架上以调节入料端及出料端的高度;切除组件位于滑轨组件下方,切除组件包括用于切除瓶胚余料的剪切刀片,切除组件可调节设置在机架上以调节剪切刀片的高度及角度。本实用新型通过设置机架、滑轨组件以及切除组件,滑轨组件以及切除组件可以调节,从而能够适用大小及型号不同的瓶胚余料,且能使瓶胚余料正好处于剪切刀片的切口,实现准确切除余料。


