授权公布号:CN216165292U
一种可调节腰围的服装
有效
申请
2021-09-26
申请公布
1970-01-01
授权
2022-04-05
预估到期
2031-09-26
| 申请号 | CN202122334033.8 |
| 申请日 | 2021-09-26 |
| 授权公布号 | CN216165292U |
| 授权公告日 | 2022-04-05 |
| 分类号 | A41D1/14;A41F9/02 |
| 分类 | 服装; |
| 申请人名称 | 武汉天鸣集团有限公司 |
| 申请人地址 | 湖北省武汉市汉阳区黄金口都市工业园金福路6号 |
专利法律状态
2022-04-05
授权
状态信息
授权
摘要
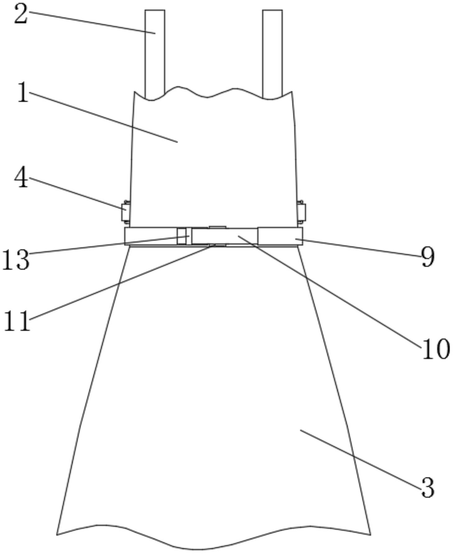
本实用新型属于服装技术领域,涉及一种可调节腰围的服装,包括上衣体、顶部吊带和裙摆,还包括第一调节带,所述顶部吊带固定连接在上衣体上端,所述顶部吊带共有两组,并且对称固定连接在上衣体上端,所述裙摆固定连接在上衣体下端,所述第一调节带固定连接在上衣体侧面。其有益效果是,该可调节腰围的服装,通过设置第一调节带和第二调节带,当人们需要对服装的腰围进行调节时,人们只需要拉动第一调节带,将第一调节带上合适位置的第一卡扣与第一卡块相扣合,然后将第二调节带上合适位置的第二卡扣扣合在第二卡块上,即可对服装的腰围进行双重调节,方便人们对服装的腰围进行调节。


