授权公布号:CN201950785U
注塑机取胚板螺纹加固装置
失效
申请
2011-01-26
申请公布
1970-01-01
授权
2011-08-31
预估到期
2021-01-26
| 申请号 | CN201120026646.9 |
| 申请日 | 2011-01-26 |
| 授权公布号 | CN201950785U |
| 授权公告日 | 2011-08-31 |
| 分类号 | B29C45/40;B29L22/00N |
| 分类 | 塑料的加工;一般处于塑性状态物质的加工; |
| 申请人名称 | 德玛克控股集团有限公司 |
| 申请人地址 | 浙江省台州市黄岩区经济开发区西工业园区新前片 |
专利法律状态
2021-02-12
专利权的终止
状态信息
专利权有效期届满;IPC(主分类):B29C45/40;申请日:20110126;授权公告日:20110831
2014-12-10
专利权人的姓名或者名称、地址的变更
状态信息
专利权人的姓名或者名称、地址的变更;IPC(主分类):B29C45/40;变更事项:专利权人;变更前:浙江德玛克机械有限公司;变更后:德玛克控股集团有限公司;变更事项:地址;变更前:318020 浙江省台州市黄岩区经济开发区西工业园区新前片;变更后:318020 浙江省台州市黄岩区经济开发区西工业园区新前片
2011-08-31
授权
状态信息
授权
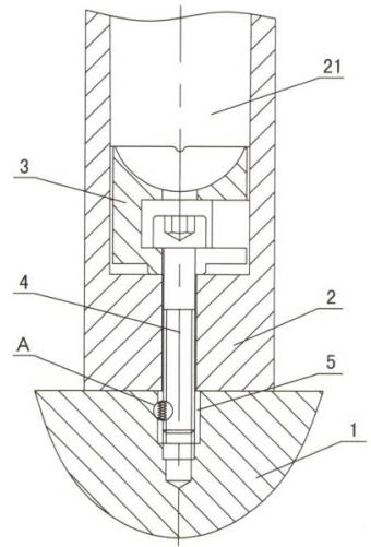
摘要
注塑机取胚板螺纹加固装置,包括取胚板,在取胚板上安装吸筒,吸筒中制有取胚腔,在取胚腔中安装瓶胚底座,瓶胚底座和吸筒通过螺钉与取胚板相固定,其特征在于所述取胚板中嵌入钢丝螺套,螺钉与取胚板中的钢丝螺套旋转配合。首先在取胚板上加工好基础螺纹后,再用专用工具将钢丝螺套装入取胚板中,当钢丝螺套装入取胚板中后,钢丝螺套自动胀紧与取胚板固定死,由于钢丝螺套为钢材料所制成,因此钢丝螺套硬度强、耐磨,钢丝螺套的螺纹与螺钉频繁配合不易滑丝和磨损,从而很大的增加了吸筒和瓶胚底座的拆装次数,提高取胚板的使用寿命。


