授权公布号:CN202029380U
塑料吹瓶机瓶口定位装置
失效
申请
2011-01-26
申请公布
1970-01-01
授权
2011-11-09
预估到期
2021-01-26
| 申请号 | CN201120024864.9 |
| 申请日 | 2011-01-26 |
| 授权公布号 | CN202029380U |
| 授权公告日 | 2011-11-09 |
| 分类号 | B29C49/42;B29L22/00N |
| 分类 | 塑料的加工;一般处于塑性状态物质的加工; |
| 申请人名称 | 德玛克控股集团有限公司 |
| 申请人地址 | 浙江省台州市黄岩区经济开发区西工业园区新前片 |
专利法律状态
2021-02-12
专利权的终止
状态信息
专利权有效期届满;IPC(主分类):B29C49/42;申请日:20110126;授权公告日:20111109
2014-12-10
专利权人的姓名或者名称、地址的变更
状态信息
专利权人的姓名或者名称、地址的变更;IPC(主分类):B29C49/42;变更事项:专利权人;变更前:浙江德玛克机械有限公司;变更后:德玛克控股集团有限公司;变更事项:地址;变更前:318020 浙江省台州市黄岩区经济开发区西工业园区新前片;变更后:318020 浙江省台州市黄岩区经济开发区西工业园区新前片
2011-11-09
授权
状态信息
授权
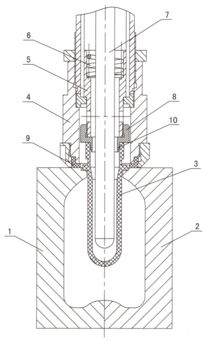
摘要
塑料吹瓶机瓶口定位装置,包括吹瓶机左半爿模具和右半爿模具,左、右半爿模具中有瓶胚,瓶胚的口部有封口装置,所述的封口装置包括封口座,封口座下安装密封圈,密封圈与左、右半爿模具的端面紧贴,封口座内安装连接座,连接座上安装压缩弹簧,连接座内有拉伸杆,拉伸杆伸入瓶胚中,连接座下连接封口环,封口环与瓶胚的口部端面相接触,其特征在于所述的封口环端面制有封口套,封口套与瓶胚口部内壁相配合。本方案在封口环的端面增加一段与瓶胚口部内壁配合的封口套,封口套插入瓶胚口部,使瓶胚不偏移,拉伸杆与瓶胚的同心度好,生产出来的瓶子完全满足质量要求。


