授权公布号:CN102152470B
塑料吹瓶机拉伸杆可调夹紧装置
有效
申请
2011-01-26
申请公布
2011-08-17
授权
2013-08-21
预估到期
2031-01-26
| 申请号 | CN201110027881.2 |
| 申请日 | 2011-01-26 |
| 申请公布号 | CN102152470A |
| 申请公布日 | 2011-08-17 |
| 授权公布号 | CN102152470B |
| 授权公告日 | 2013-08-21 |
| 分类号 | B29C49/42;B29L22/00N |
| 分类 | 塑料的加工;一般处于塑性状态物质的加工; |
| 申请人名称 | 德玛克控股集团有限公司 |
| 申请人地址 | 浙江省湖州市长兴县太湖街道发展大道2587号 |
专利法律状态
2020-05-05
专利申请权、专利权的转移
状态信息
专利权的转移;IPC(主分类):B29C49/42;登记生效日:20200416;变更事项:专利权人;变更前:德玛克控股集团有限公司;变更后:德玛克(长兴)注塑系统有限公司;变更事项:地址;变更前:318020 浙江省台州市黄岩区经济开发区西工业园区新前片;变更后:313100 浙江省湖州市长兴县太湖街道发展大道2587号
2020-01-07
专利权质押合同登记的生效、变更及注销
状态信息
专利权质押合同登记的注销;IPC(主分类):B29C49/42;授权公告日:20130821;申请日:20110126;登记号:2015330000048;出质人:德玛克控股集团有限公司;质权人:中国工商银行股份有限公司台州黄岩支行;解除日:20191216
2015-10-14
专利权质押合同登记的生效、变更及注销
状态信息
专利权质押合同登记的生效;IPC(主分类):B29C49/42;登记号:2015330000048;登记生效日:20150910;出质人:德玛克控股集团有限公司;质权人:中国工商银行股份有限公司台州黄岩支行;发明名称:塑料吹瓶机拉伸杆可调夹紧装置;申请日:20110126;授权公告日:20130821
2014-12-10
专利权人的姓名或者名称、地址的变更
状态信息
专利权人的姓名或者名称、地址的变更;IPC(主分类):B29C49/42;变更事项:专利权人;变更前:浙江德玛克机械有限公司;变更后:德玛克控股集团有限公司;变更事项:地址;变更前:318020 浙江省台州市黄岩区经济开发区西工业园区新前片;变更后:318020 浙江省台州市黄岩区经济开发区西工业园区新前片
2013-08-21
授权
状态信息
授权
2011-09-28
实质审查的生效
状态信息
实质审查的生效IPC(主分类):B29C 49/42申请日:20110126
2011-08-17
公布
状态信息
公布
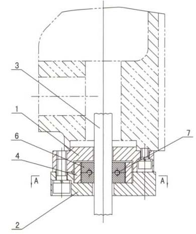
摘要
塑料吹瓶机拉伸杆可调夹紧装置,包括上固定座和下固定座,上、下固定座中安装拉伸杆,其特征在于所述的上固定座和下固定座中安装夹紧块座,夹紧块座中设置前夹紧块和后夹紧块,前、后夹紧块由螺钉连接对拉伸杆夹紧。本方案的可调夹紧装置既夹紧牢靠,又可上、下调节拉伸杆的长度,并且调节方便,使一种拉伸杆适合各种模具的高度,节省成本,具有显著的积极效果。


