授权公布号:CN219076475U
挤出机模头伺服电机驱动的可动调校机构
有效
申请
2022-12-26
申请公布
1970-01-01
授权
2023-05-26
预估到期
2032-12-26
| 申请号 | CN202223482205.7 |
| 申请日 | 2022-12-26 |
| 授权公布号 | CN219076475U |
| 授权公告日 | 2023-05-26 |
| 分类号 | B29C48/325 |
| 分类 | 塑料的加工;一般处于塑性状态物质的加工; |
| 申请人名称 | 河北三庆机械制造有限公司 |
| 申请人地址 | 河北省沧州市新华区小赵庄乡鞠官屯(新华区工业园) |
专利法律状态
2023-05-26
授权
状态信息
授权
摘要
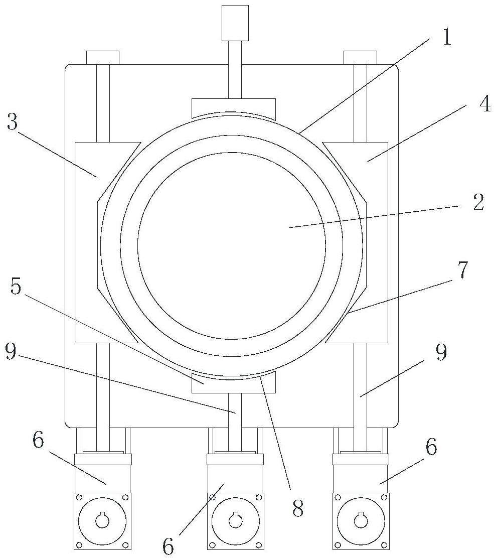
本实用新型涉及挤出机技术领域,特别是一种挤出机模头伺服电机驱动的可动调校机构,包括口模和芯模,口模套在所述芯模的外部,在口模的两侧分别设有左移动块、右移动块,口模的下部设有底侧移动块,在模头的下侧设有三个伺服电机,三个伺服电机分别带动左移动块、右移动块和底侧移动块移动。本装置通过将整体式口模改进为内部增加两个对向可移动块和底部侧移动快及驱动伺服电机,伺服电机对三个移动块进行驱动和定位,从而实现精确位置调整和长时间稳定保持。


