授权公布号:CN220180415U
配重可调节式摆杆机构及宽幅打印机
有效
申请
2023-06-29
申请公布
1970-01-01
授权
2023-12-15
预估到期
2033-06-29
| 申请号 | CN202321682852.4 |
| 申请日 | 2023-06-29 |
| 授权公布号 | CN220180415U |
| 授权公告日 | 2023-12-15 |
| 分类号 | B41J15/04;B41J3/00 |
| 分类 | 印刷;排版机;打字机;模印机〔4〕; |
| 申请人名称 | 郑州新世纪数码科技股份有限公司 |
| 申请人地址 | 河南省郑州市高新区文竹街41号 |
专利法律状态
2023-12-15
授权
状态信息
授权
摘要
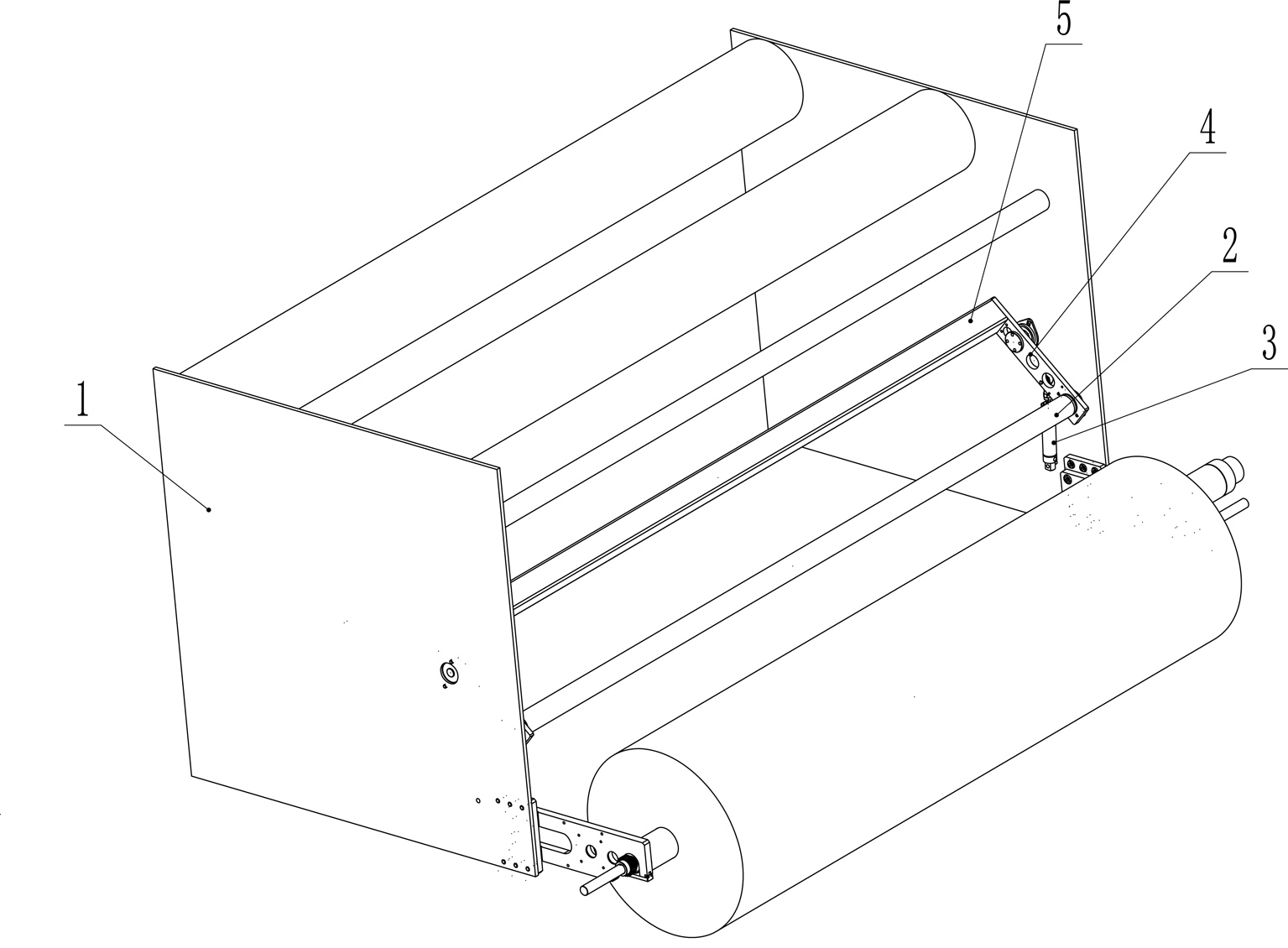
本实用新型提供了一种配重可调节式摆杆机构和宽幅打印机,包括机架、摆杆和调节机构;所述摆杆的两端通过摆臂铰接于所述机架上,所述摆杆安装于摆臂的偏心位置处;所述调节机构的底端安装于机架上,所述调节机构的顶端铰接于摆臂上,所述调节机构用于控制摆臂的摆动幅度,以改变摆杆的摆动行程。该配重可调节式摆杆机构和宽幅打印机通过控制摆臂的摆动幅度,控制摆杆的摆动行程范围,进而可以动态的调节摆杆的配重范围。


