授权公布号:CN113619295B
一种打印机的打印介质展平装置及打印机
有效
申请
2021-07-20
申请公布
2021-11-09
授权
2023-12-15
预估到期
2041-07-20
| 申请号 | CN202110821385.8 |
| 申请日 | 2021-07-20 |
| 申请公布号 | CN113619295A |
| 申请公布日 | 2021-11-09 |
| 授权公布号 | CN113619295B |
| 授权公告日 | 2023-12-15 |
| 分类号 | B41J11/00 |
| 分类 | 印刷;排版机;打字机;模印机〔4〕; |
| 申请人名称 | 郑州新世纪数码科技股份有限公司 |
| 申请人地址 | 河南省郑州市高新区文竹路西牵牛路东 |
专利法律状态
2023-12-15
授权
状态信息
授权
2021-11-26
实质审查的生效
状态信息
实质审查的生效;IPC(主分类):B41J11/00;申请日:20210720
2021-11-09
公布
状态信息
公布
摘要
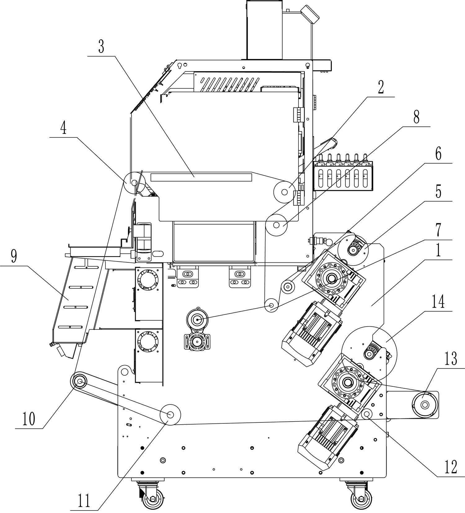
本发明提供了一种打印机的打印介质展平装置,包括机架和分别设置在所述机架上的送纸端毛刷辊、打印面板和出纸端毛刷辊;所述送纸端毛刷辊和出纸端毛刷辊均包括辊体和密布在所述辊体表面的毛刷,所述送纸端毛刷辊设置于打印面板的送纸侧,所述出纸端毛刷辊设置于打印面板的出纸侧;所述打印面板上设置有若干平行的凹槽,相邻凹槽间形成凸台,各所述凸台的上表面处于同一水平面上,所述打印面板上密布有通风孔。该打印机的打印介质展平装置具有针对薄介质具有较好的展平效果、避免薄介质打印后发生过度变形的优点。


