授权公布号:CN114243571B
一种穿刺线夹安装工具及其操作方法
有效
申请
2021-12-17
申请公布
2022-03-25
授权
2024-01-23
预估到期
2041-12-17
| 申请号 | CN202111551846.0 |
| 申请日 | 2021-12-17 |
| 申请公布号 | CN114243571A |
| 申请公布日 | 2022-03-25 |
| 授权公布号 | CN114243571B |
| 授权公告日 | 2024-01-23 |
| 分类号 | H02G1/04;H02G1/14;H01R4/24 |
| 分类 | 发电、变电或配电; |
| 申请人名称 | 亿嘉和科技股份有限公司 |
| 申请人地址 | 江苏省南京市雨花台区安德门大街57号5幢1楼至3楼、8楼至12楼 |
专利法律状态
2024-01-23
授权
状态信息
授权
2022-04-12
实质审查的生效
状态信息
实质审查的生效;IPC(主分类):H02G1/04;申请日:20211217
2022-03-25
公布
状态信息
公布
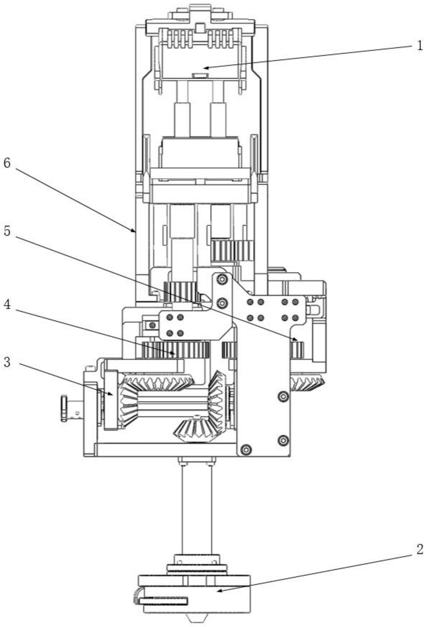
摘要
本发明公开了一种穿刺线夹安装工具及其操作方法,该安装工具包括对接组件、左套筒传动组件、右套筒传动组件、中心距调节组件、线夹支撑座,所述对接组件通过安装座连接于线夹支撑座的底部,用于与机器人末端对接传动;所述左套筒传动组件、右套筒传动组件用于在对接组件的驱动作用下,实现穿刺线夹的开合控制,所述中心距调节组件用于实现左套筒传动组件、右套筒传动组件之间的中心距调节。本发明适用于机器人带电搭接作业,能够有效提高作业效率,规避人工作业的风险,同时可以调节左右套筒的中心距以适应不同型号的穿刺线夹,具有安装简易、操作安全、锁紧和脱离自由度少等特点。


