授权公布号:CN210508589U
一种抱夹装置
有效
申请
2019-07-05
申请公布
1970-01-01
授权
2020-05-12
预估到期
2029-07-05
| 申请号 | CN201921039937.4 |
| 申请日 | 2019-07-05 |
| 授权公布号 | CN210508589U |
| 授权公告日 | 2020-05-12 |
| 分类号 | E04H6/30 |
| 分类 | 建筑物; |
| 申请人名称 | 安徽鸿路钢结构(集团)股份有限公司 |
| 申请人地址 | 安徽省合肥市双凤工业区 |
专利法律状态
2020-05-12
授权
状态信息
授权
摘要
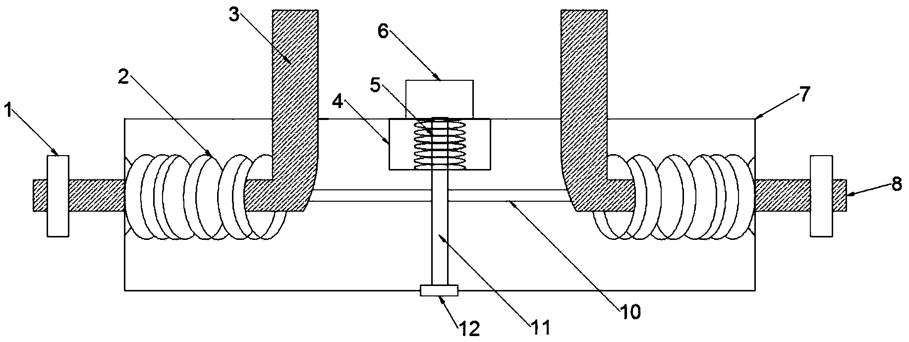
本实用新型公开了一种抱夹装置,包括承载板,所述承载板包括夹持板,压紧弹簧,弹簧仓,横板和立杆,所述夹持板与承载板相连,且所述夹持板包括螺杆,所述螺杆与压紧弹簧相连,所述弹簧仓包括伸缩弹簧和压块,所述压块连接在立杆的顶端,且立杆和横板连接成十字状,所述横板的两端与夹持板贴合,所述螺杆从承载板的内部向外延伸,且在承载板外部的螺杆上设有调节螺栓,由于该装置设置一对夹持板配合压紧弹簧从而使得车辆轮胎压到压块时,从而将轮胎抱夹,同时设置的立杆贯穿承载板,并在承载板的下方伸出5公分,从而使得该装置在放落车辆时,立杆配合伸缩弹簧将夹持板撑开,松开车轮完成对车辆轮胎的抱夹和松开,因此本实用新型值得推广。


