授权公布号:CN220535170U
一种排汗透气的园服面料
有效
申请
2023-08-14
申请公布
1970-01-01
授权
2024-02-27
预估到期
2033-08-14
| 申请号 | CN202322180726.5 |
| 申请日 | 2023-08-14 |
| 授权公布号 | CN220535170U |
| 授权公告日 | 2024-02-27 |
| 分类号 | B32B33/00;B32B3/08;B32B3/30;B32B5/02 |
| 分类 | 层状产品; |
| 申请人名称 | 漳平市金富山制衣有限公司 |
| 申请人地址 | 福建省龙岩市漳平市富山工业园区 |
专利法律状态
2024-02-27
授权
状态信息
授权
摘要
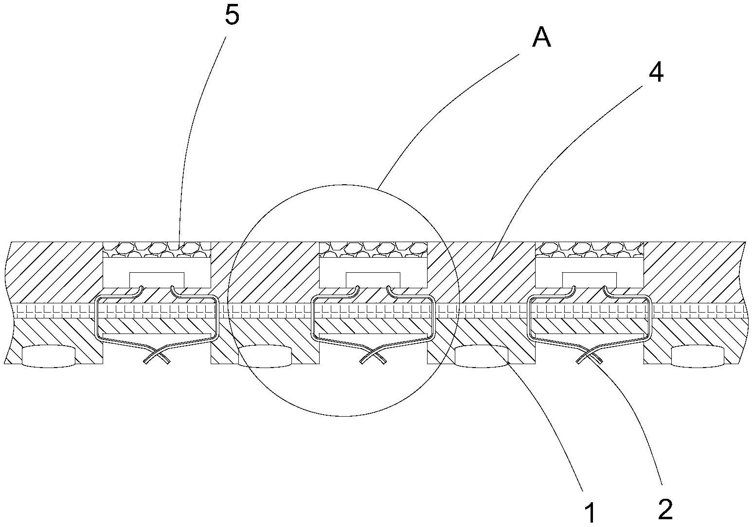
本实用新型涉及服装技术领域,具体为一种排汗透气的园服面料,包括亲肤底部面料层、导汗带、弹性面料连接层、透气顶部面料层、镂空提花层、吸汗条和纤维素纤维吸汗颗粒,亲肤底部面料层形成有条状凹槽,凹槽内设有导汗带,透气顶部面料层、弹性面料连接层和亲肤底部面料层依次连接,透气顶部面料层上形成有条状透气槽,镂空提花层覆盖透气槽,吸汗条位于透气槽内,纤维素纤维吸汗颗粒位于面料底面,其提高了面料的镂空程度使得面料具有良好的散热效果,有助于空气在面料‑皮肤间流动提高透气性能,此外通过利用吸水性差异将皮肤面料间的汗液转移至面料外部,有助于汗液的挥发、干燥,具有实用意义和推广价值,预期能够产生良好的经济效益。


