授权公布号:CN217628982U8
一种校服生产用可调式熨烫设备
有效
申请
2022-07-04
申请公布
1970-01-01
授权
2023-05-23
预估到期
2032-07-04
| 申请号 | CN202221693186.X |
| 申请日 | 2022-07-04 |
| 授权公布号 | CN217628982U8 |
| 授权公告日 | 2023-05-23 |
| 分类号 | D06C15/10;F26B21/00;B01D46/10;B01D46/681 |
| 分类 | 织物等的处理;洗涤;其他类不包括的柔性材料; |
| 申请人名称 | 青岛威达体育用品有限公司 |
| 申请人地址 | 山东省青岛市即墨区烟青路37号 |
专利法律状态
2023-05-23
实用新型专利更正
状态信息
实用新型专利公报更正;卷:38;号:42.02;页码: ;申请号:202221693186X;IPC(主分类):D06C0015100000;更正项目:发明人;误:王松作;江静静;王丹;正:王作松;江静静;王丹
2022-10-21
授权
状态信息
授权
摘要
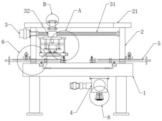
本实用新型提供一种校服生产用可调式熨烫设备,涉及校服生产领域。所述一种校服生产用可调式熨烫设备包括工作台,两个所述立架上均滑动连接有滑推杆。本实用新型提供的一种校服生产用可调式熨烫设备通过拉动拉环使滑杵相对于横板滑动,滑杵的下端滑离滑推杆上的固定槽中,推动滑推杆使其一端的压定组件随之移动,即可实现便捷调节滑推杆与立架之间的相对位置,从而满足对不同规格的衣服进行位置固定,便于平整熨烫;通过启动风机使气流经过连接管输送至方形吹气管后吹出,同时启动电机使驱动座带动方形吹气管往复移动,即可实现加速熨烫后的校服快速风干,从而保证熨烫后的校服可以直接进行打包。


