授权公布号:CN110454392B
双级压缩机
有效
申请
2019-08-21
申请公布
2019-11-15
授权
2020-11-10
预估到期
2039-08-21
| 申请号 | CN201910774652.3 |
| 申请日 | 2019-08-21 |
| 申请公布号 | CN110454392A |
| 申请公布日 | 2019-11-15 |
| 授权公布号 | CN110454392B |
| 授权公告日 | 2020-11-10 |
| 分类号 | F04C23/00 |
| 分类 | 液体变容式机械;液体泵或弹性流体泵; |
| 申请人名称 | 聚才实业(深圳)有限公司 |
| 申请人地址 | 广东省深圳市龙华新区龙华街道龙观大道聚才大厦 |
专利法律状态
2020-11-10
授权
状态信息
授权
2019-12-10
实质审查的生效
状态信息
实质审查的生效IPC(主分类):F04C 23/00
2019-11-15
公布
状态信息
公布
摘要
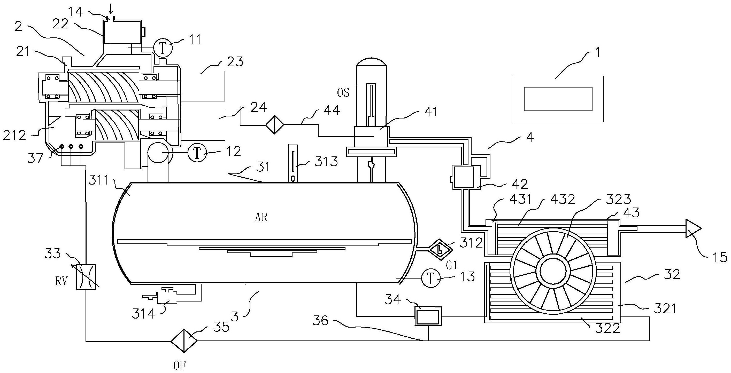
本发明公开了一种双级压缩机,涉及压缩机技术领域。其技术要点包括控制器、压缩机体和冷却润滑系统,所述压缩机本体包括连通的一级压缩腔、级间通道和二级压缩腔,所述机体的侧壁上开设有连通一级压缩腔的机体进气口和连通二级压缩腔的机体出气口,所述冷却润滑系统包括油气分离筒、回油管道以及流量控制阀;所述机体进气口设置有进气温度传感器,所述机体出气口上设置有出气温度传感器;所述控制器电连接进气温度传感器、出气温度传感器和流量控制阀,且所述控制器比较进气温度传感器和出气温度传感器输出的电信号,输出控制流量控制阀开度的电信号,本发明具有冷却温度可控,能够达到等温压缩的优点。


