授权公布号:CN212898921U
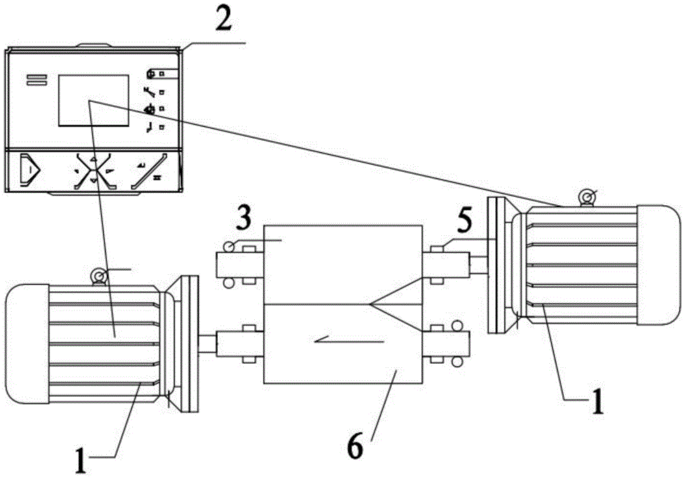
一种干式无油双螺杆空压机双电机驱动系统
有效
申请
2020-08-13
申请公布
1970-01-01
授权
2021-04-06
预估到期
2030-08-13
| 申请号 | CN202021679490.X |
| 申请日 | 2020-08-13 |
| 授权公布号 | CN212898921U |
| 授权公告日 | 2021-04-06 |
| 分类号 | F04C29/00;H02K7/14;F04C18/16 |
| 分类 | 液体变容式机械;液体泵或弹性流体泵; |
| 申请人名称 | 聚才实业(深圳)有限公司 |
| 申请人地址 | 广东省深圳市龙华区龙华街道玉翠社区昌永路和平工业园A号1层105 |
专利法律状态
2021-04-06
授权
状态信息
授权
摘要
本实用新型公开了一种干式无油双螺杆空压机双电机驱动系统,包括多台电机、电机控制器、轴向轴承、径向轴承、空压机主体,空压机主体内设置有转子,电机的电机轴均连接一个转子并驱动转子转动,电机的电机轴均连接径向轴承。本实用新型利用电子伺服原理,通过伺服电路对电动机转速进行控制。分别利用2台电机同步驱动两根转子,与腔体形成密封空间不断压缩空气;不需要复杂的机械结构,充分利用当下电子化、信息化、AI控制的大发展,避免无油螺杆空压机的发展被国外垄断,在结构方向上进行突破。


