授权公布号:CN210531178U
一种离心空压机不停机可切换油路的装置
有效
申请
2019-09-29
申请公布
1970-01-01
授权
2020-05-15
预估到期
2029-09-29
| 申请号 | CN201921637282.0 |
| 申请日 | 2019-09-29 |
| 授权公布号 | CN210531178U |
| 授权公告日 | 2020-05-15 |
| 分类号 | F04D17/10;F04D29/00 |
| 分类 | 液体变容式机械;液体泵或弹性流体泵; |
| 申请人名称 | 钛灵特压缩机无锡有限公司 |
| 申请人地址 | 江苏省无锡市新吴区震泽路18-13无锡软件园二期-水瓶座-406 |
专利法律状态
2020-05-15
授权
状态信息
授权
摘要
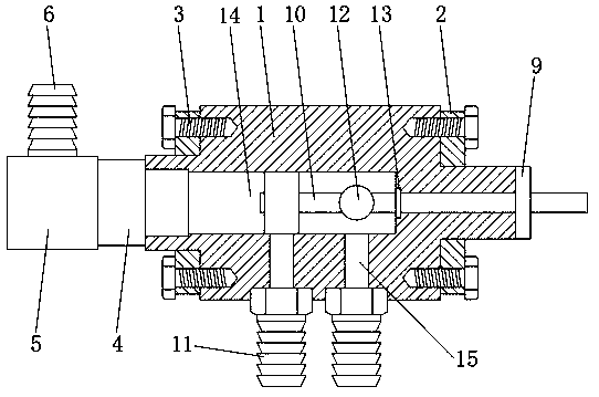
本实用新型公开的一种离心空压机不停机可切换油路的装置,包括固定缸座,所述固定缸座的一侧外表面固定安装有输油连接管,所述输油连接管的一侧外表面固定安装有防逆阀座,所述防逆阀座的上表面固定安装有输油接头,所述防逆阀座的内表面固定安装有连接球座,所述连接球座的下表面配合连接有密封球,所述固定缸座的另一侧外表面固定安装有轴杆密封盖。本实用新型所述的一种离心空压机不停机可切换油路的装置,能够在切换油路时,同步切换油路的密封和打开,省去了压缩机需要停止工作再进行油路的转换,提高了压缩机的工作效率,能够对油路进行防逆流保护,防止了油路回冲损伤压缩机。


