授权公布号:CN211777905U
一种压缩机供油系统
有效
申请
2020-03-18
申请公布
1970-01-01
授权
2020-10-27
预估到期
2030-03-18
| 申请号 | CN202020345077.3 |
| 申请日 | 2020-03-18 |
| 授权公布号 | CN211777905U |
| 授权公告日 | 2020-10-27 |
| 分类号 | F04B39/02 |
| 分类 | 液体变容式机械;液体泵或弹性流体泵; |
| 申请人名称 | 北京京城压缩机有限公司 |
| 申请人地址 | 北京市延庆区康庄镇工业开发区康顺路一号 |
专利法律状态
2020-10-27
授权
状态信息
授权
摘要
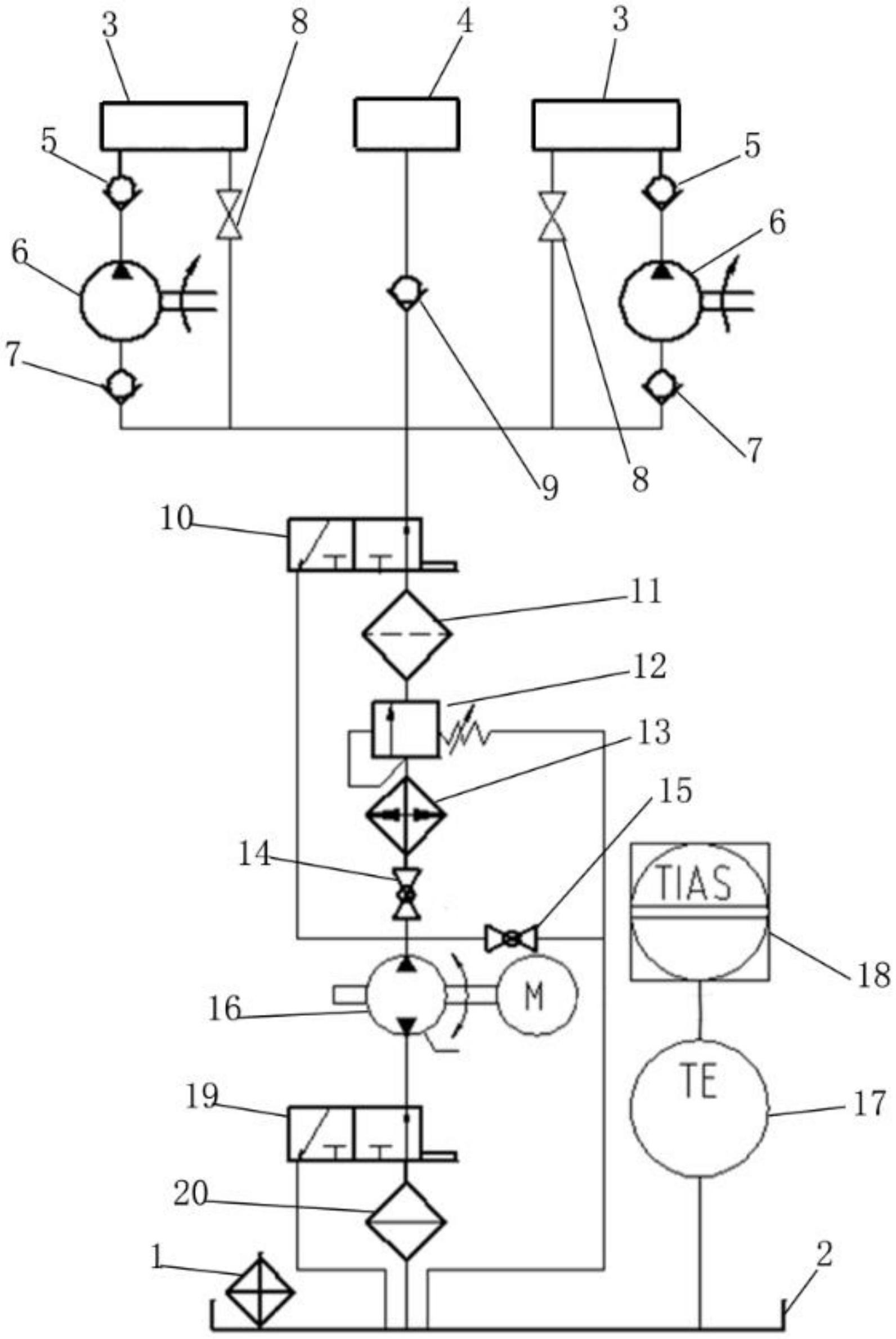
本实用新型公开一种压缩机供油系统,包括电加热器和温度变送器、第一两位三通阀、双向泵、第一球阀、溢流阀、第二两位三通阀,所述第一两位三通头分别与所述曲轴箱和所述双向泵连通,所述双向泵分别与所述第一球阀和所述曲轴箱可启闭式连通,所述溢流阀与所述曲轴箱和所述第一球阀和所述第二两位三通阀连通,所述第二两位三通阀与所述双向泵连通和缸体组件或传动系统连通,所述温度变送器的两端分别与所述曲轴箱和远传显示器连通。本实用新型的一种压缩机供油系统结构简单、曲轴箱内润滑油加热均衡、避免电加热器积碳、减少电加热器的损坏频次和实现循环加热润滑油。


