授权公布号:CN215444337U
一种压缩机负压防油系统
有效
申请
2021-08-03
申请公布
1970-01-01
授权
2022-01-07
预估到期
2031-08-03
| 申请号 | CN202121794015.1 |
| 申请日 | 2021-08-03 |
| 授权公布号 | CN215444337U |
| 授权公告日 | 2022-01-07 |
| 分类号 | F04B39/04;F04B39/16 |
| 分类 | 液体变容式机械;液体泵或弹性流体泵; |
| 申请人名称 | 上海东方压缩机厂有限公司 |
| 申请人地址 | 上海市宝山区顾村工业园区富联二路318号 |
专利法律状态
2022-01-07
授权
状态信息
授权
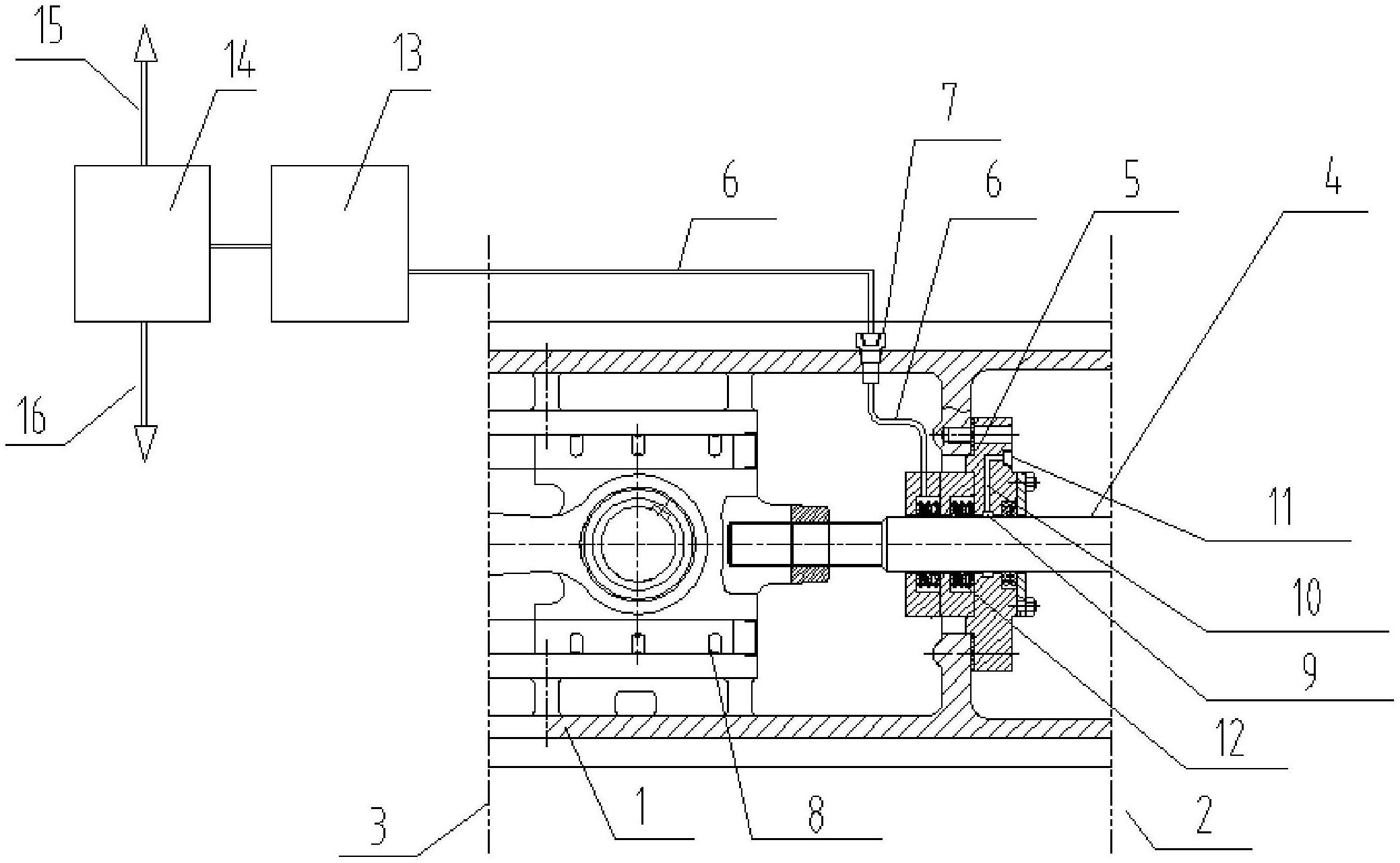
摘要
本实用新型公开了压缩机技术领域的一种压缩机负压防油系统,包括中体,所述中体的一端设置有压缩端,另一端设置有动力端,所述中体的中心设置有活塞杆,所述活塞杆上设置有刮油装置,所述刮油装置的一端设置有抽气管线,所述抽气管线上设置有抽气口,所述活塞杆的一端设置有十字头运动部件,所述刮油装置包括保护气体气室,所述保护气体气室通过保护气体通道连接有保护气体进口,所述刮油装置上设置有若干刮油环,所述抽气管钱通过真空泵连接有油气过滤器,本实用新型通过抽气原理,在压缩端增加气体保护,动力端增加抽气接口,从而使润滑油无法通过此间隙,伴随活塞杆流向压缩端,解决用户对气体极端无油的要求。


