授权公布号:CN215155081U
一种可快速拆装的轻量化方舱
有效
申请
2021-08-03
申请公布
1970-01-01
授权
2021-12-14
预估到期
2031-08-03
| 申请号 | CN202121794211.9 |
| 申请日 | 2021-08-03 |
| 授权公布号 | CN215155081U |
| 授权公告日 | 2021-12-14 |
| 分类号 | B62D33/04 |
| 分类 | 无轨陆用车辆; |
| 申请人名称 | 上海东方压缩机厂有限公司 |
| 申请人地址 | 上海市宝山区顾村工业园区富联二路318号 |
专利法律状态
2021-12-14
授权
状态信息
授权
摘要
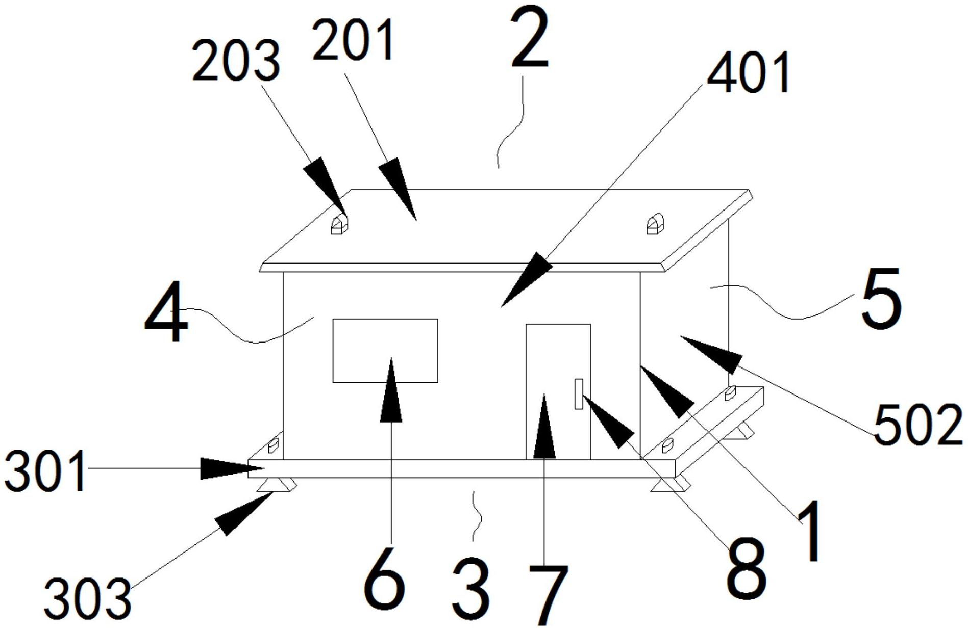
本实用新型公开了方舱技术领域的一种可快速拆装的轻量化方舱,所述方舱主体上端安装有顶盖装置,所述方舱主体底部安装有固定装置,起到固定方舱主体的作用,所述方舱主体包括主舱壁和辅舱壁,所述主舱壁和辅舱壁通过拼接的方式安装,本实用新型通过设置的固定卡槽和固定凹槽与主舱壁和辅舱壁配合安装使用,可以方便快速拆卸安装方舱主体,设置的主舱壁和辅舱壁通过拼接的方式安装,可以提高方舱的灵活性,从而解决了目前方舱一般都是在出发地组装完毕,到达目的地后由专门的起重设备才能从车上吊下,而在一些缺乏专用起重设备的特殊情况下,方舱的安装使用吊装较为困难,不利于轻量化方舱的快速灵活使用的问题。


