授权公布号:CN209244829U
装甲装备气动维修装置
有效
申请
2018-12-26
申请公布
1970-01-01
授权
2019-08-13
预估到期
2028-12-26
| 申请号 | CN201822204564.3 |
| 申请日 | 2018-12-26 |
| 授权公布号 | CN209244829U |
| 授权公告日 | 2019-08-13 |
| 分类号 | F04C18/16;F04C29/00 |
| 分类 | 液体变容式机械;液体泵或弹性流体泵; |
| 申请人名称 | 上海东方压缩机厂有限公司 |
| 申请人地址 | 上海市宝山区顾村工业园区富联二路318号 |
专利法律状态
2019-08-13
授权
状态信息
授权
摘要
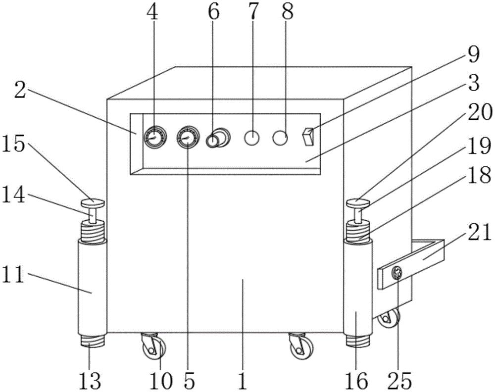
本实用新型公开的装甲装备气动维修装置,包括机壳、一号调节螺杆、二号调节螺杆、固定板、一号调节螺栓和二号调节螺栓,所述机壳的前面设置有一号凹槽,且一号凹槽的内部前面安装有控制面板,所述控制面板的前面安装有储气罐压力表、出气压力表、快速接口、电源指示灯、异常指示灯和电源开关。本实用新型所述的装甲装备气动维修装置,设有固定板、一号调节螺杆、二号调节螺杆和外螺纹,能够对连接排水管和出气管的管道进行排序固定,避免因管道牵涉导致排水管和出气管损坏的情况发生,能够将装甲装备气动维修装置固定在指定位置工作,能够在没有工具的情况下,将散热窗卸下清洗,具有一定的实用性,带来更好的使用前景。


