授权公布号:CN218429911U
一种全自动正负压成型机的取放模的升降车装置
有效
申请
2022-09-22
申请公布
1970-01-01
授权
2023-02-03
预估到期
2032-09-22
| 申请号 | CN202222537217.9 |
| 申请日 | 2022-09-22 |
| 授权公布号 | CN218429911U |
| 授权公告日 | 2023-02-03 |
| 分类号 | B29C51/10;B29C51/26;B29C33/30 |
| 分类 | 塑料的加工;一般处于塑性状态物质的加工; |
| 申请人名称 | 深圳市永恒盛机械制造有限公司 |
| 申请人地址 | 广东省深圳市龙岗区坪地街道坪西社区坪西南路22号A栋101及B栋东 |
专利法律状态
2023-02-03
授权
状态信息
授权
摘要
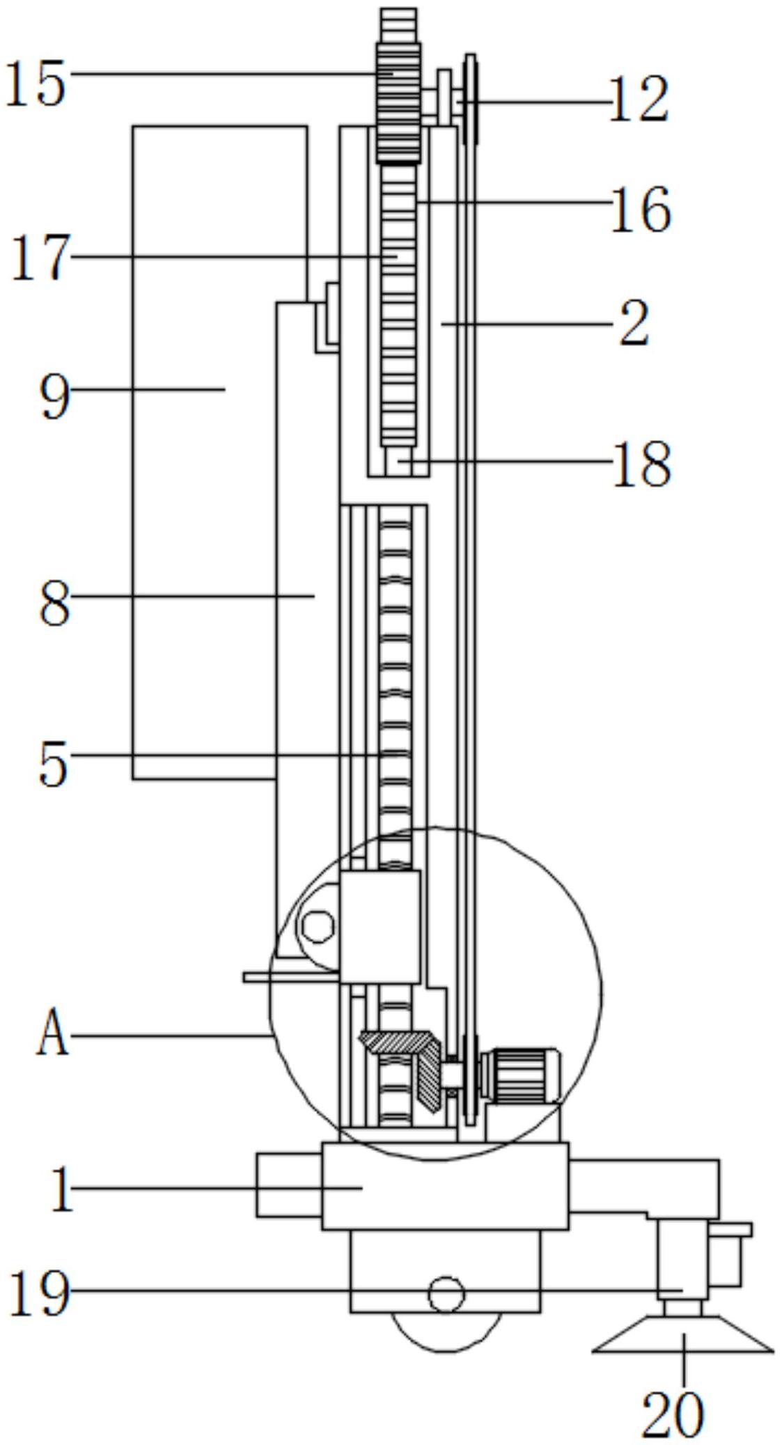
本实用新型公开了一种全自动正负压成型机的取放模的升降车装置,包括带有磁吸板的移动台,所述移动台的顶部有固定连接有立柱,所述立柱的内部开设有空腔,所述移动台的上表面通过支架固定安装有驱动电机一,所述驱动电机一的输出端穿进空腔的内部并固定连接有主动锥形齿轮,所述空腔内壁的底部通过轴承转动连接有螺纹杆,所述螺纹杆上靠近其底部的表面固定连接有从动锥形齿轮。本实用新型通过上述等结构的配合,实现了在移动台以及防滑板的作用下能够完成取放模装置的移动定位,且通过驱动端启动调节模板夹紧件的高度,同时增加升降高度尺以便工作人员查看移动距离,给工作人员的工作带来了便利。


