授权公布号:CN218429910U
一种全自动正负压成型机的夹模装置
有效
申请
2022-09-21
申请公布
1970-01-01
授权
2023-02-03
预估到期
2032-09-21
| 申请号 | CN202222495782.3 |
| 申请日 | 2022-09-21 |
| 授权公布号 | CN218429910U |
| 授权公告日 | 2023-02-03 |
| 分类号 | B29C51/10;B29C51/18;B29C51/26 |
| 分类 | 塑料的加工;一般处于塑性状态物质的加工; |
| 申请人名称 | 深圳市永恒盛机械制造有限公司 |
| 申请人地址 | 广东省深圳市龙岗区坪地街道坪西社区坪西南路22号A栋101及B栋东 |
专利法律状态
2023-02-03
授权
状态信息
授权
摘要
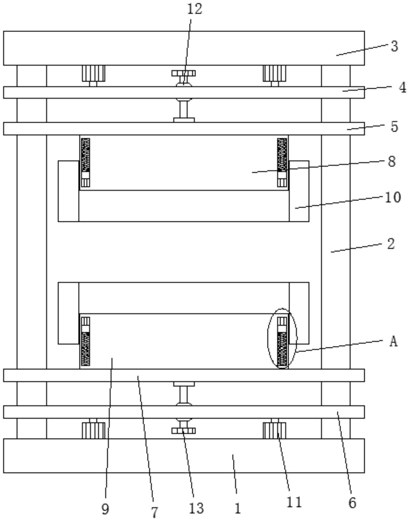
本实用新型涉及一种全自动正负压成型机的夹模装置,包括底座,所述底座的顶端四角处均固定设有滑杆一,所述滑杆一的顶端固定连接有顶板,所述滑杆一的上部滑动套设有上固定板和上安装板,所述上安装板位于所述上固定板的下方,所述滑杆一的下部滑动套设有下固定板和下安装板,所述下安装板位于所述下固定板的上方,所述上安装板的底端固定设有上模座本体,所述下安装板的顶端固定设有与所述上模座本体相匹配的下模座本体,本实用新型方便对模具进行高度调节,从而可以有效的保证模具之间的紧密型,同时通过壳体可以对物料夹持固定,从而保证模具对物料夹模时,物料出现褶皱的现象发生,进而可以有效的提高装置的生产质量和生产效率。


