授权公布号:CN218429928U
一种吸塑成型机的热炉结构装置
有效
申请
2022-09-23
申请公布
1970-01-01
授权
2023-02-03
预估到期
2032-09-23
| 申请号 | CN202222519243.9 |
| 申请日 | 2022-09-23 |
| 授权公布号 | CN218429928U |
| 授权公告日 | 2023-02-03 |
| 分类号 | B29C51/42;B29C51/26;B29C51/46;B29C51/10 |
| 分类 | 塑料的加工;一般处于塑性状态物质的加工; |
| 申请人名称 | 深圳市永恒盛机械制造有限公司 |
| 申请人地址 | 广东省深圳市龙岗区坪地街道坪西社区坪西南路22号A栋101及B栋东 |
专利法律状态
2023-02-03
授权
状态信息
授权
摘要
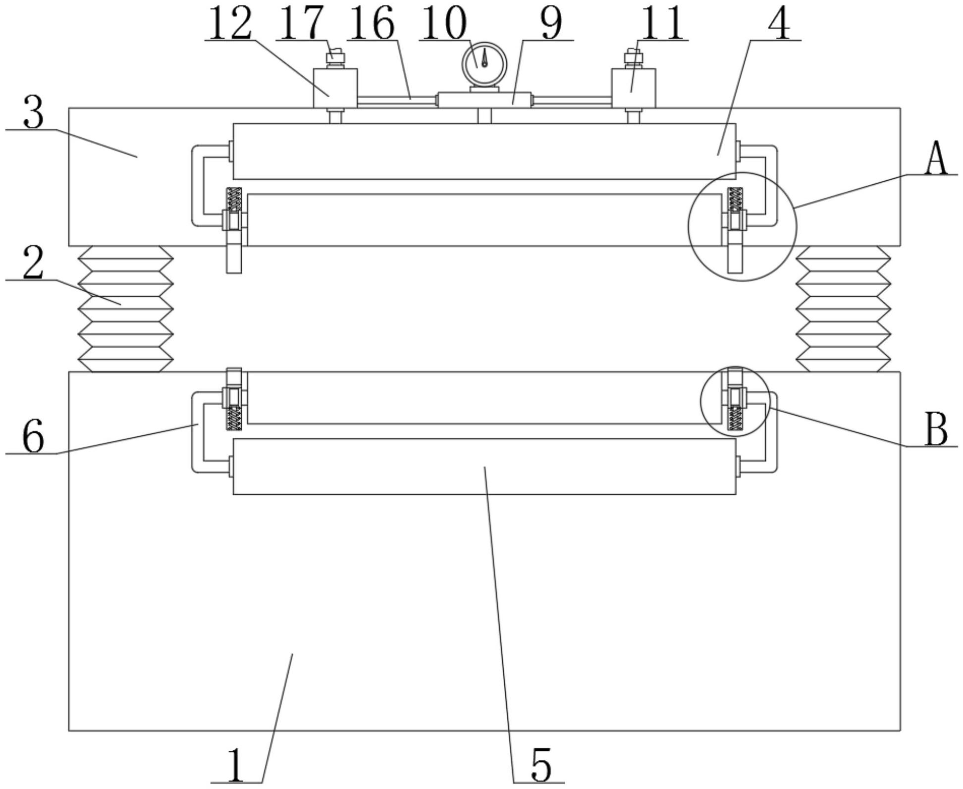
本实用新型涉及吸塑成型机技术领域,尤其为一种吸塑成型机的热炉结构装置,包括底箱、升降连接器和顶箱,所述底箱的上端外侧固定连接有升降连接器,所述升降连接器的上端固定连接有顶箱,所述顶箱的内部固定连接有上热炉,所述底箱的内部上侧固定连接有下热炉,所述上热炉和下热炉的外端均密封连接有导热管,所述顶箱的下端外侧滑动连接有上封板,所述底箱的上端外侧滑动连接有下封板,本实用新型中,通过设置的上封板、下封板和弹簧,在对顶箱与底箱贴合时能够通过上封板对下封板进行顶压,从而使通孔能够移动至导热管位置处,而在顶箱抬升后能够使设置的弹簧弹伸,从而使上封板和下封板能够对导热管的出口进行封堵,提升热炉结构的节能性。


