授权公布号:CN218196878U
一种全自动负压一体吸塑成型机
有效
申请
2022-08-19
申请公布
1970-01-01
授权
2023-01-03
预估到期
2032-08-19
| 申请号 | CN202222197034.7 |
| 申请日 | 2022-08-19 |
| 授权公布号 | CN218196878U |
| 授权公告日 | 2023-01-03 |
| 分类号 | B29C51/10;B29C51/26 |
| 分类 | 塑料的加工;一般处于塑性状态物质的加工; |
| 申请人名称 | 深圳市永恒盛机械制造有限公司 |
| 申请人地址 | 广东省深圳市龙岗区坪地街道坪西社区坪西南路22号A栋101及B栋东 |
专利法律状态
2023-01-03
授权
状态信息
授权
摘要
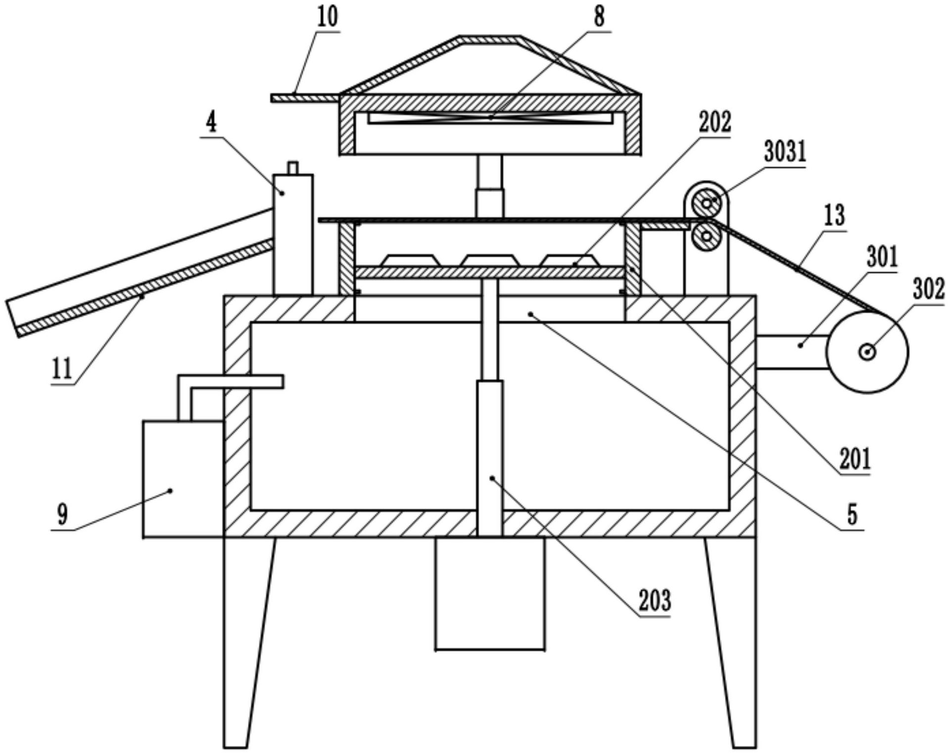
本实用新型适用于吸塑加工领域,提供了一种全自动负压一体吸塑成型机,包括成型机主体,以及设置在成型机主体上的工作单元,还包括:输送单元,输送单元设置在成型机主体的一侧,输送单元包括固定连接在成型机主体上的安装架,安装架上转动连接有用于安装吸塑材料卷的安装轴,还包括设置在成型机主体上且位于工作单元一侧的输送组件;切刀组件,切刀组件设置在成型机主体上工作单元的另一侧,切刀组件用于截断一定长度的吸塑材料。其有益效果是:通过一侧输送单元将条状的吸塑材料持续地输送至工作单元内,在上料时采用连续输送的方式,而吸塑材料上已经被处理的部分在经过切刀组件时又会被切断,使其出料时呈现片状,能够提高上下料的效率。


