授权公布号:CN218196900U
一种吸塑成型机的热吹风装置
有效
申请
2022-09-08
申请公布
1970-01-01
授权
2023-01-03
预估到期
2032-09-08
| 申请号 | CN202222387979.5 |
| 申请日 | 2022-09-08 |
| 授权公布号 | CN218196900U |
| 授权公告日 | 2023-01-03 |
| 分类号 | B29C51/42;B29C51/10 |
| 分类 | 塑料的加工;一般处于塑性状态物质的加工; |
| 申请人名称 | 深圳市永恒盛机械制造有限公司 |
| 申请人地址 | 广东省深圳市龙岗区坪地街道坪西社区坪西南路22号A栋101及B栋东 |
专利法律状态
2023-01-03
授权
状态信息
授权
摘要
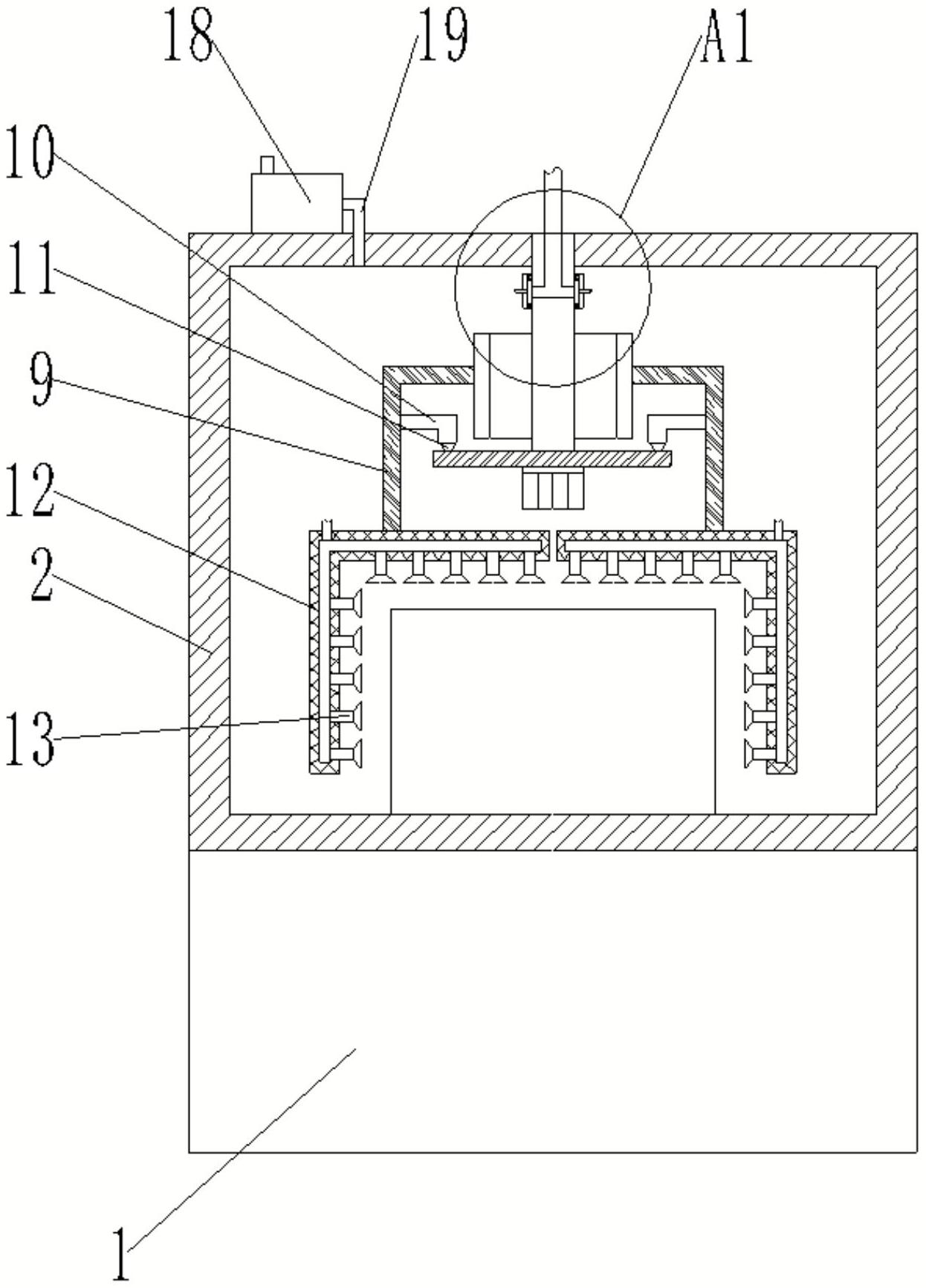
本实用新型涉及吸塑机技术领域,公开了一种吸塑成型机的热吹风装置,包括吸塑机本体,所述吸塑机本体上固定安装有热处理箱,热处理箱内固定安装有支柱,支柱一端固定安装有底板,底板两端设置为半圆形结构且底板两端均转动安装有安装轴,安装轴上共同转动安装有输送带,所述底板上固定安装有输出轴与其中一组安装轴固定连接的旋转动力件,所述输送带表面固定安装有间隔分布的安装架。与现有技术相比,本实用新型的有益效果是:热风吹送部件能够围绕产品转动,从而实现了产品表面全面的热吹风处理,且能够均匀的向产品的表面吹送热风,进而提高热吹风处理的效果,有利于提高产品质量。


