授权公布号:CN218644470U
一种喷射增焓的单向阀结构、涡旋压缩机和调温设备
有效
申请
2022-09-21
申请公布
1970-01-01
授权
2023-03-17
预估到期
2032-09-21
| 申请号 | CN202222506863.9 |
| 申请日 | 2022-09-21 |
| 授权公布号 | CN218644470U |
| 授权公告日 | 2023-03-17 |
| 分类号 | F04C29/00;F04C18/02 |
| 分类 | 液体变容式机械;液体泵或弹性流体泵; |
| 申请人名称 | 广州万宝集团压缩机有限公司 |
| 申请人地址 | 广东省广州市白云区人和镇人和大街68号 |
专利法律状态
2023-03-17
授权
状态信息
授权
摘要
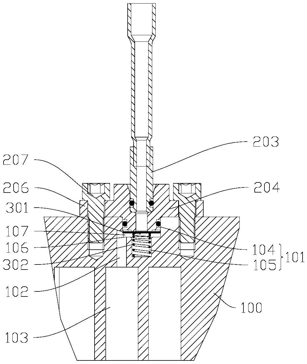
本实用新型公开了一种喷射增焓的单向阀结构、涡旋压缩机和调温设备,包括:定盘,设有喷射增焓沉孔和喷射增焓旁孔,喷射增焓沉孔由定盘的外壁面向内部延伸,并在延伸至定盘的压缩腔之前截止,喷射增焓旁孔由喷射增焓沉孔的侧向孔壁延伸至定盘的压缩腔;喷射管部件,安装于定盘的喷射增焓沉孔;阀芯组件,包括阀片和弹性复位部件,阀片浮动的设置于喷射增焓沉孔,阀片能够在喷射管部件中冷媒气流的作用下沿第一方向移动,以使喷射管部件和定盘的压缩腔之间由喷射增焓旁孔连通形成通路。其有效降低了喷射管的振动和止回阀的振动,提高了喷射增焓单向阀的使用寿命和可靠性,并且具有结构简单、易于安装。


