授权公布号:CN115815261B
一种房车抽拉式黑水箱自动排污清洗装置
有效
申请
2023-02-15
申请公布
2023-03-21
授权
2023-05-12
预估到期
2043-02-15
| 申请号 | CN202310112859.0 |
| 申请日 | 2023-02-15 |
| 申请公布号 | CN115815261A |
| 申请公布日 | 2023-03-21 |
| 授权公布号 | CN115815261B |
| 授权公告日 | 2023-05-12 |
| 分类号 | B08B9/087;B08B9/093 |
| 分类 | 清洁; |
| 申请人名称 | 荣成康派斯新能源车辆股份有限公司 |
| 申请人地址 | 山东省威海市荣成市兴隆路187号 |
专利法律状态
2023-05-12
授权
状态信息
授权
2023-03-21
公布
状态信息
公布
摘要
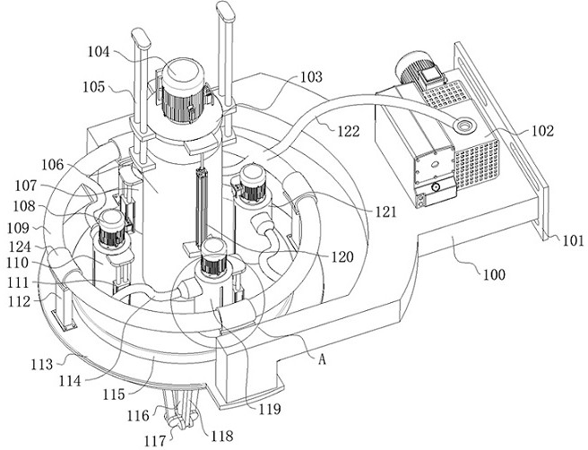
本发明公开了一种房车抽拉式黑水箱自动排污清洗装置,涉及清洗装置技术领域,其包括第一支架,以及盖体,盖体上具有一收纳筒,在收纳筒内设有刮料机构;多个桶状结构,多个桶状结构安装在盖体上且呈圆周分布在滑杆的外侧,多个桶状结构具有抽污口和排污口,多个桶状结构相互独立的与盖体滑动设置实现抽污口位于黑水箱本体内的不同位置,在每个桶状机构内具有负压机构,负压机构用于使污水自抽污口输送至排污口,通过将刮料机构设置为收纳或展开式,在排污完毕后能够保持刮料机构的充分清洁,避免长时间使用后刮料机构因腐蚀而使用寿命较短的缺陷,同时在排污时,能够对不同水位点进行同时抽取,因此在粘稠物未充分沉积时即可完成对污物的清理。


