授权公布号:CN216344150U
一种压力调节阀
有效
申请
2021-11-18
申请公布
1970-01-01
授权
2022-04-19
预估到期
2031-11-18
| 申请号 | CN202122829081.4 |
| 申请日 | 2021-11-18 |
| 授权公布号 | CN216344150U |
| 授权公告日 | 2022-04-19 |
| 分类号 | F16K17/04;F16K17/06;F16K17/164 |
| 分类 | 工程元件或部件;为产生和保持机器或设备的有效运行的一般措施;一般绝热; |
| 申请人名称 | 意朗实业(上海)有限公司 |
| 申请人地址 | 上海市嘉定区南翔镇德力西路668号2幢 |
专利法律状态
2022-04-19
授权
状态信息
授权
摘要
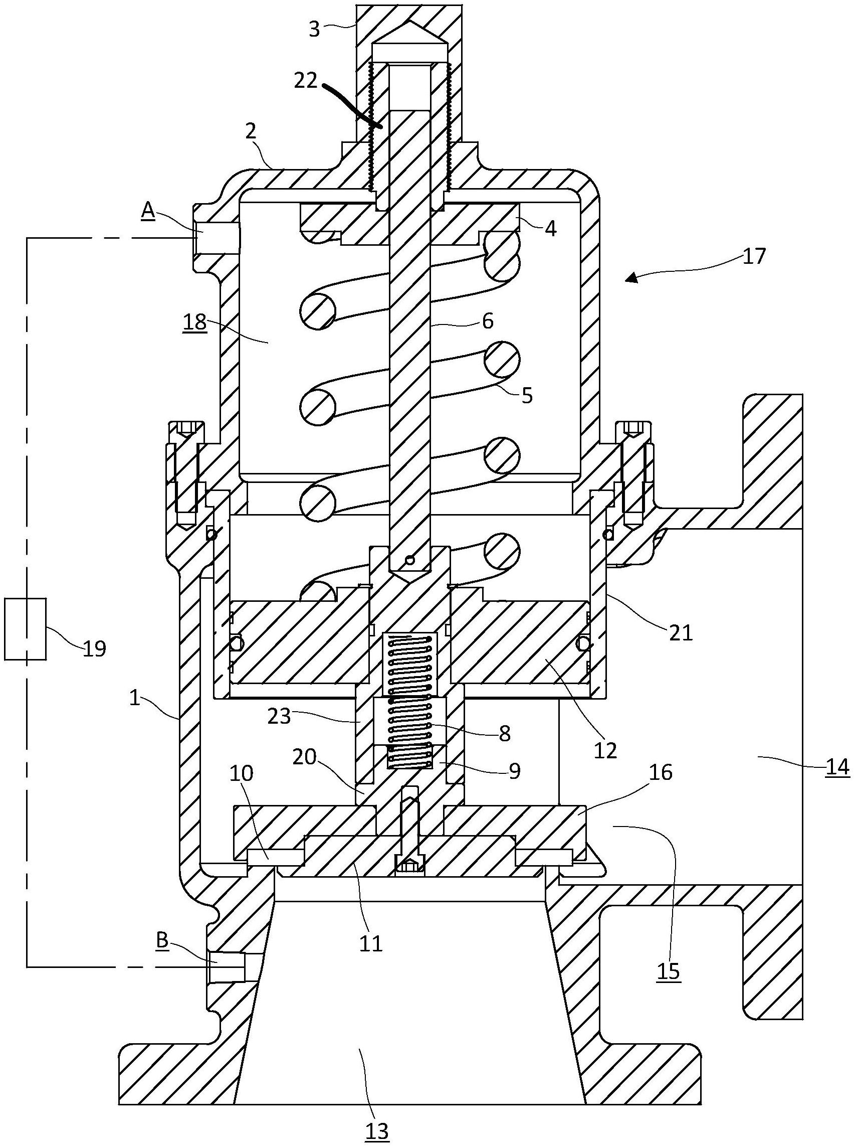
本实用新型公开了一种压力调节阀,其包括:阀体,具有进气口、出气口以及与出气口连通的出气腔体;进气口与出气腔体之间设置有连通口;挡板,设置在出气腔体中,正面用于封挡连通口;气缸,其内部滑动设置有活塞;活塞的背面面向气缸的恒压区;恒压区与减压阀的出口连通,并设置有活塞复位机构;减压阀的入口与进气口连通;活塞与挡板传动连接;当进气口的气体对挡板的压力大于恒压区对活塞的压力时,挡板向出气腔体运动,使得压力调节阀导通。压力调节阀的开启气压可通过减压阀准确调节,压力调节阀的开启气压不受复位弹簧的装配方式以及弹簧质量的影响,开启压力稳定、无偏差。


