授权公布号:CN210796460U
一种一次性取样装置
有效
申请
2019-09-12
申请公布
1970-01-01
授权
2020-06-19
预估到期
2029-09-12
| 申请号 | CN201921526542.7 |
| 申请日 | 2019-09-12 |
| 授权公布号 | CN210796460U |
| 授权公告日 | 2020-06-19 |
| 分类号 | C12M1/26;C12M1/00 |
| 分类 | 生物化学;啤酒;烈性酒;果汁酒;醋;微生物学;酶学;突变或遗传工程; |
| 申请人名称 | 科济生物医药(上海)有限公司 |
| 申请人地址 | 中国香港九龙旺角花园街2.16号好景商业中心20层12室 |
专利法律状态
2022-03-25
专利申请权、专利权的转移
状态信息
专利权的转移;IPC(主分类):C12M1/26;登记生效日:20220311;变更事项:专利权人;变更前:佧珐药业有限公司;变更后:克莱格医学有限公司;变更事项:地址;变更前:都柏林国际金融服务中心交换场所2.3号;变更后:中国香港九龙旺角花园街2.16号好景商业中心20层12室
2021-03-16
专利申请权、专利权的转移
状态信息
专利权的转移;IPC(主分类):C12M1/26;专利号:ZL2019215265427;登记生效日:20210303;变更事项:专利权人;变更前权利人:科济生物医药(上海)有限公司;变更后权利人:佧珐药业有限公司;变更事项:地址;变更前权利人:200231 上海市徐汇区银都路388号B栋;变更后权利人:爱尔兰都柏林国际金融服务中心交换场所2-3号
2020-06-19
授权
状态信息
授权
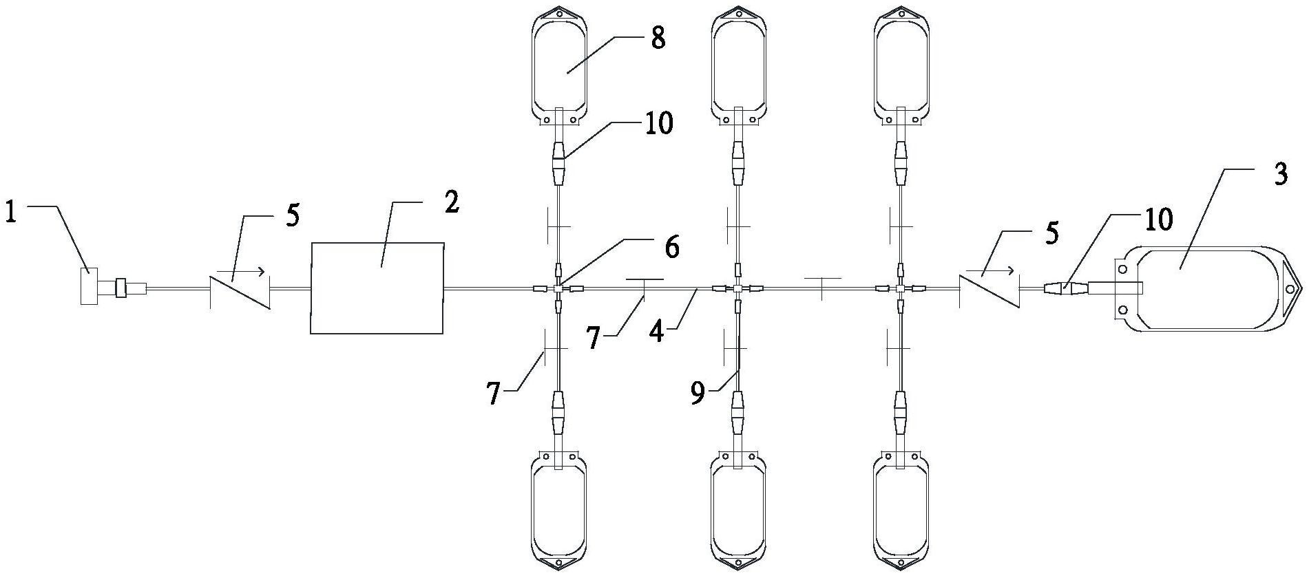
摘要
本实用新型提供一种一次性取样装置。一次性取样装置包括通过主运输管依次连接的连接机构、动力机构、储样机构和废液收集机构,一次性取样装置与上游产品储存装置整体上形成无菌封闭系统;储样机构包括至少两个多通接头和若干分支运输管;多通接头包括至少四个接头;多通接头中的任意两接头与主运输管连接,其他接头连接分支运输管的一端,分支运输管的另一端通过二通变径接头与储液袋连接;分支运输管上设有阀门,多通接头之间的主运输管上设有阀门;连接机构与动力机构之间设有单向阀;储样机构与废液收集机构之间设有单向阀。其在使用时处于密封状态,保证了生物样品安全性,可定期、多次取样,并避免二次污染或交叉污染。


