授权公布号:CN220525476U
用于转化炉模块化管段压力试验的临时盲板
有效
申请
2023-05-31
申请公布
1970-01-01
授权
2024-02-23
预估到期
2033-05-31
| 申请号 | CN202321365445.0 |
| 申请日 | 2023-05-31 |
| 授权公布号 | CN220525476U |
| 授权公告日 | 2024-02-23 |
| 分类号 | G01N3/02;G01N3/12 |
| 分类 | 测量;测试; |
| 申请人名称 | 上海宝冶集团有限公司 |
| 申请人地址 | 上海市宝山区抚远路2457号 |
专利法律状态
2024-02-23
授权
状态信息
授权
摘要
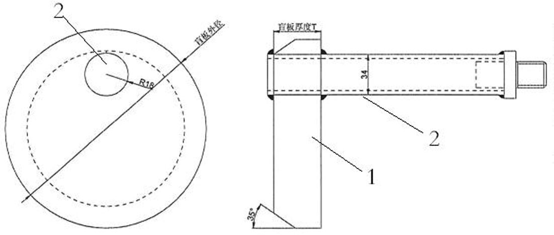
本实用新型涉及转化炉的建造技术领域,具体是一种用于转化炉模块化管段压力试验的临时盲板;包括板体和进水导管,进水导管的外径等同于待测管束的内径,在板体的上沿开通孔,板体通过该通孔与进水导管连接,板体周边开设坡口,所述进水导管的端部设置连接螺纹。本实用新型提出一种易于封堵的管道临时封堵装置,使用时通过进水导管与试压设备连接,同时直接将板体塞入到管道中,实现管道端口的快速封堵,从而其能够使管道的端口进行临时性的封闭,从而易于管道在模块化的制造过程中进行试压试验。


