授权公布号:CN220430106U
一种施工现场车辆清洗系统
有效
申请
2023-08-09
申请公布
1970-01-01
授权
2024-02-02
预估到期
2033-08-09
| 申请号 | CN202322138914.1 |
| 申请日 | 2023-08-09 |
| 授权公布号 | CN220430106U |
| 授权公告日 | 2024-02-02 |
| 分类号 | B60S3/04;B01D21/02;E03B3/02 |
| 分类 | 一般车辆; |
| 申请人名称 | 上海宝冶集团有限公司 |
| 申请人地址 | 上海市宝山区庆安路77号 |
专利法律状态
2024-02-02
授权
状态信息
授权
摘要
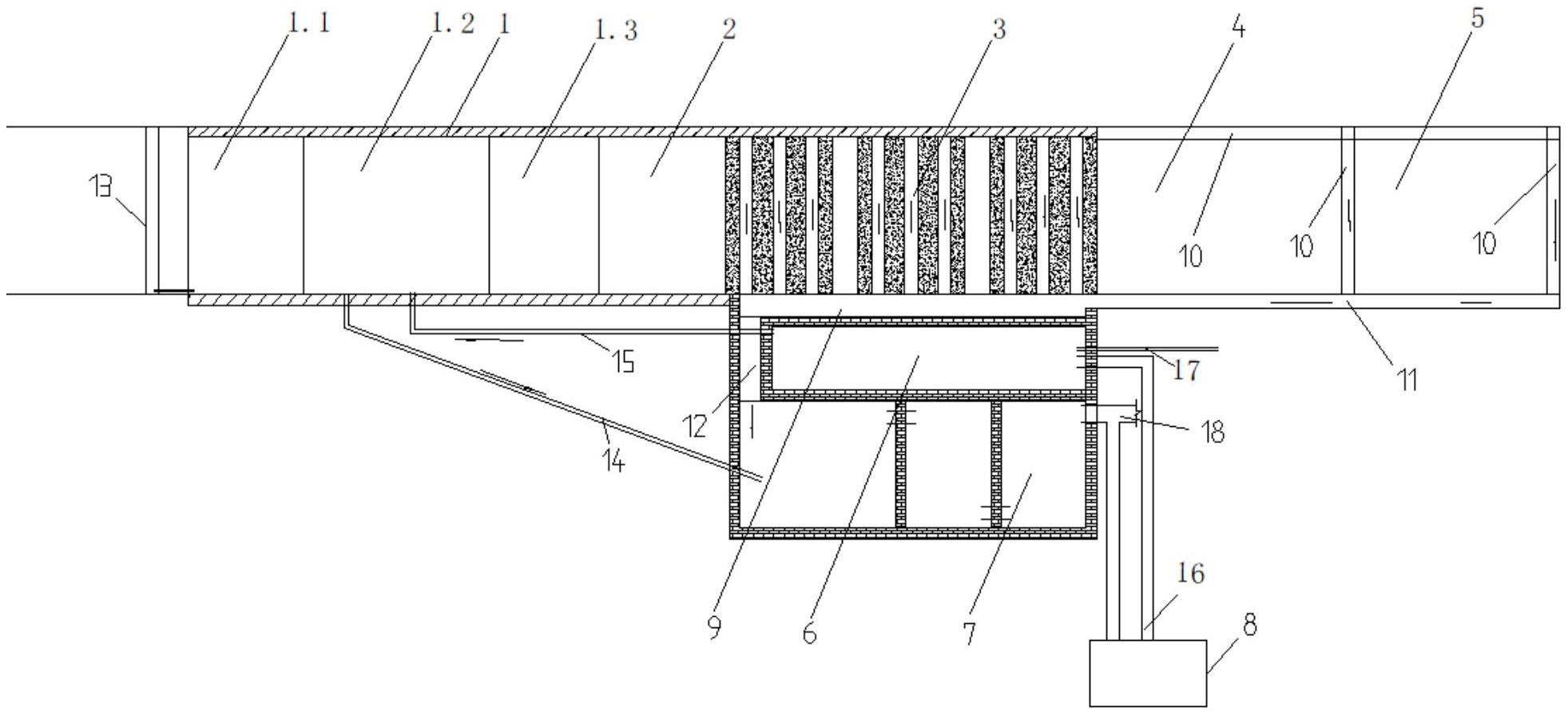
本实用新型公开了一种施工现场车辆清洗系统,包括洗车槽、与洗车槽的出口连接的洗车台、与洗车台的出口连接的冲洗区、与冲洗区的出口连接的沥干区、出水口与洗车槽、洗车台以及冲洗区的进水端均连通的水泵池,洗车台包括镂空台面和设置于镂空台面下面凹坑内的喷淋装置,洗车台的外侧设有与凹坑连通的水沟池,冲洗区和沥干区的外周设置有第一截水沟,第一截水沟通过汇水沟与水沟池连通;还包括多级依次连通的沉淀池和雨水收集池,一级沉淀池进水口与洗车槽和水沟池的出水口连通,雨水收集池的进水口与末级沉淀池的出水口连通,水泵池的进水口与雨水收集池的出水口和自来水均连通。解决了施工现场车辆污染环境的问题,同时也避免了水资源的浪费。


