授权公布号:CN213670954U
一种混凝土浇筑装置
有效
申请
2020-11-04
申请公布
1970-01-01
授权
2021-07-13
预估到期
2030-11-04
| 申请号 | CN202022513254.7 |
| 申请日 | 2020-11-04 |
| 授权公布号 | CN213670954U |
| 授权公告日 | 2021-07-13 |
| 分类号 | B08B9/087;B08B9/093;E04G21/04 |
| 分类 | 清洁; |
| 申请人名称 | 江苏华大装配式房屋有限公司 |
| 申请人地址 | 江苏省常州市武进区横林镇长虹路99号 |
专利法律状态
2021-07-13
授权
状态信息
授权
摘要
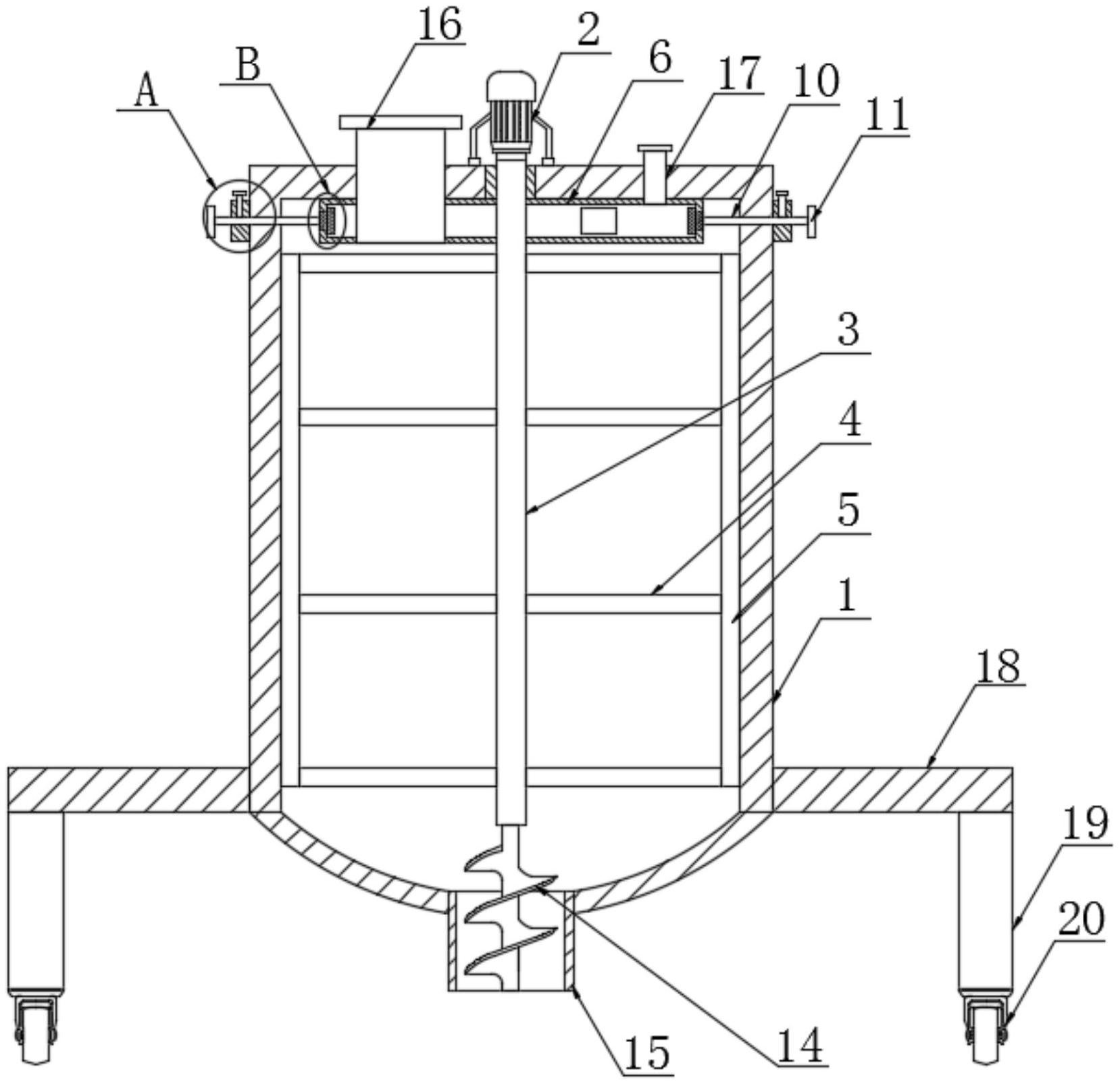
本实用新型公开了一种混凝土浇筑装置,具体涉及浇筑技术领域,包括浇筑桶,所述浇筑桶顶端固定设有电机,所述浇筑桶内部设有转动杆,所述转动杆外端固定设有多个搅拌杆,所述浇筑桶内壁上设有两个刮板,所述浇筑桶内部顶端固定设有储水箱,所述储水箱外端开设有多个漏水口,所述漏水口内部设有堵塞块,所述堵塞块一端固定设有阻挡块,所述堵塞块另一端固定设有推杆。本实用新型通过设置刮板,可以一直对浇筑桶的内壁进行刮动清理,通过水流到浇筑桶内壁上和刮板的配合,可以将浇筑桶的内壁清理的很干净,有效的防止了混凝土凝固在浇筑桶内壁上,延长了浇筑桶的使用寿命。


