授权公布号:CN216195421U
一种新型轻钢墙体与托梁的连接件
有效
申请
2021-10-13
申请公布
1970-01-01
授权
2022-04-05
预估到期
2031-10-13
| 申请号 | CN202122466337.X |
| 申请日 | 2021-10-13 |
| 授权公布号 | CN216195421U |
| 授权公告日 | 2022-04-05 |
| 分类号 | E04B1/24;E04B1/58;E04B2/60 |
| 分类 | 建筑物; |
| 申请人名称 | 华新顿现代钢结构制造有限公司 |
| 申请人地址 | 湖北省仙桃市沙嘴办事处叶王路西侧8-1幢、8-2幢、8-3幢1-2层 |
专利法律状态
2022-04-05
授权
状态信息
授权
摘要
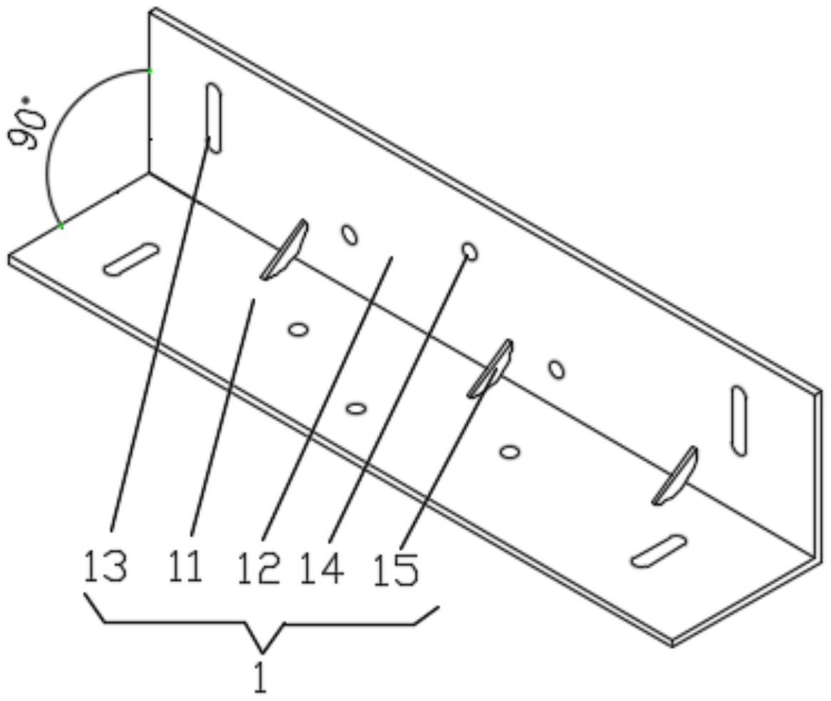
本实用新型提出了一种新型轻钢墙体与托梁的连接件,包括截面呈L型的连接件,所述连接件的第一翼板和第二翼板相互垂直,所述第一翼板和第二翼板的左右两侧相对应的分别设有纵向布置的椭圆长孔,每个翼板上的左右两侧的椭圆长孔之间相对应的位置还设有若干固定孔。本实用新型通过椭圆长孔可以调节梁安装的水平位置,进行微调位置保证安装的准确性;同时两翼板之间还设置加强筋板提高了连接件的荷载。


