授权公布号:CN220058357U
一种横梁与纵梁交叉拼接的高强度连接结构
有效
申请
2023-06-08
申请公布
1970-01-01
授权
2023-11-21
预估到期
2033-06-08
| 申请号 | CN202321451247.6 |
| 申请日 | 2023-06-08 |
| 授权公布号 | CN220058357U |
| 授权公告日 | 2023-11-21 |
| 分类号 | E04B1/58 |
| 分类 | 建筑物; |
| 申请人名称 | 华新顿现代钢结构制造有限公司 |
| 申请人地址 | 湖北省仙桃市沙嘴办事处叶王路西侧8-1幢、8-2幢、8-3幢1-2层 |
专利法律状态
2023-11-21
授权
状态信息
授权
摘要
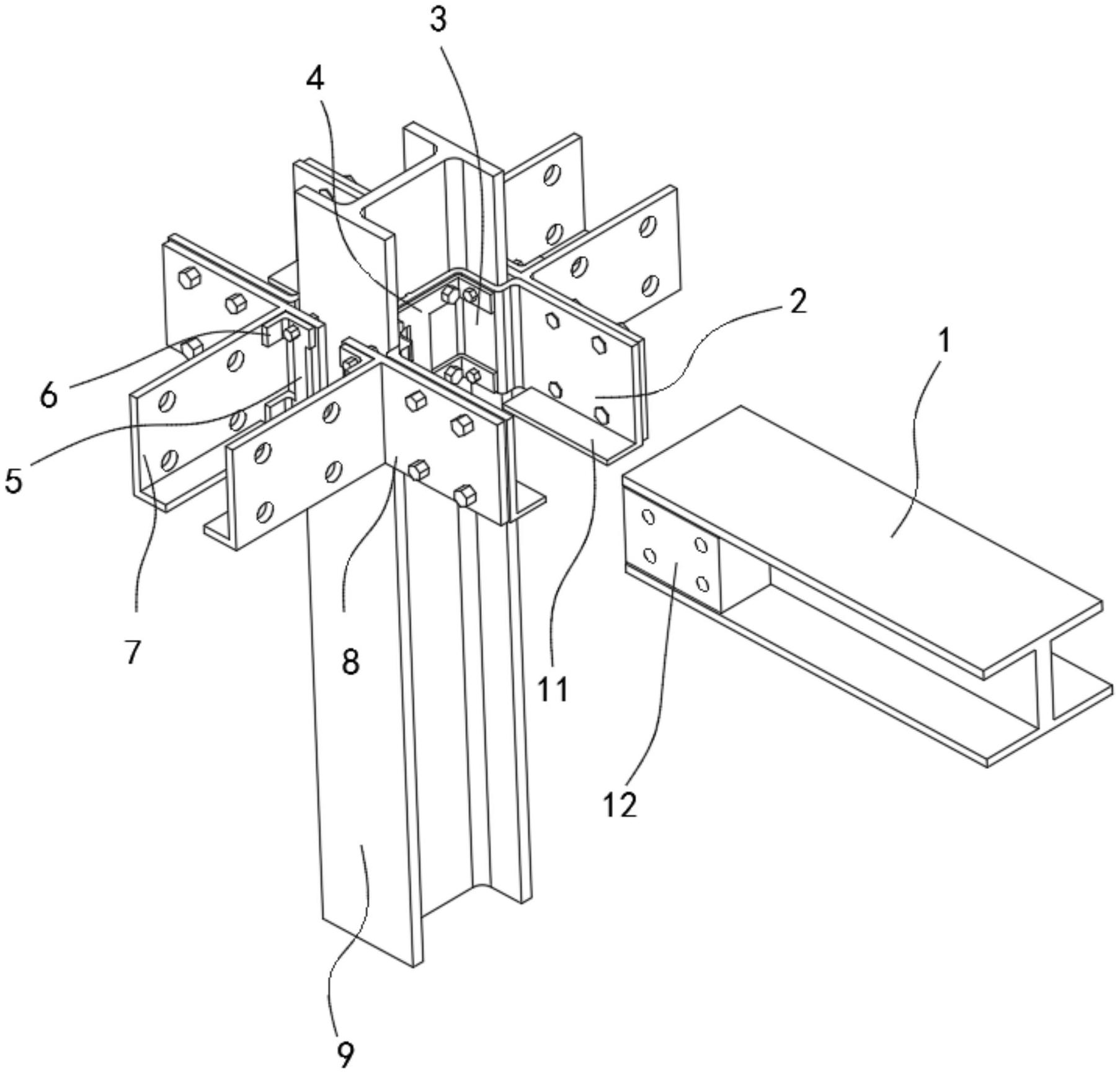
本实用新型公开了一种横梁与纵梁交叉拼接的高强度连接结构,涉及钢结构连接件技术领域,具体包括两个U型板,U型板分别放置在工字架内顶部两侧;U型板的两端连接有第一支撑板,第一支撑板和U型板末端之间阶梯设置;第一支撑板靠近U型板的一侧均垂直连接有第三支撑板,第三支撑板之间、以及第一支撑板之间均用于放置工字梁。与现有技术相比,本实用新型在使用时,将U型板置于工字架内,然后将分布在工字架侧面上的工字梁置于支撑板之间后通过螺栓紧固即可,方便安装和拆卸。


