授权公布号:CN215485748U
一种新型窗框边的防水结构
有效
申请
2021-07-09
申请公布
1970-01-01
授权
2022-01-11
预估到期
2031-07-09
| 申请号 | CN202121565925.2 |
| 申请日 | 2021-07-09 |
| 授权公布号 | CN215485748U |
| 授权公告日 | 2022-01-11 |
| 分类号 | E06B7/14;E06B1/62;E06B7/28 |
| 分类 | 一般门、窗、百叶窗或卷辊遮帘;梯子; |
| 申请人名称 | 华新顿现代钢结构制造有限公司 |
| 申请人地址 | 湖北省仙桃市沙嘴办事处叶王路西侧8-1幢、8-2幢、8-3幢1-2层 |
专利法律状态
2022-01-11
授权
状态信息
授权
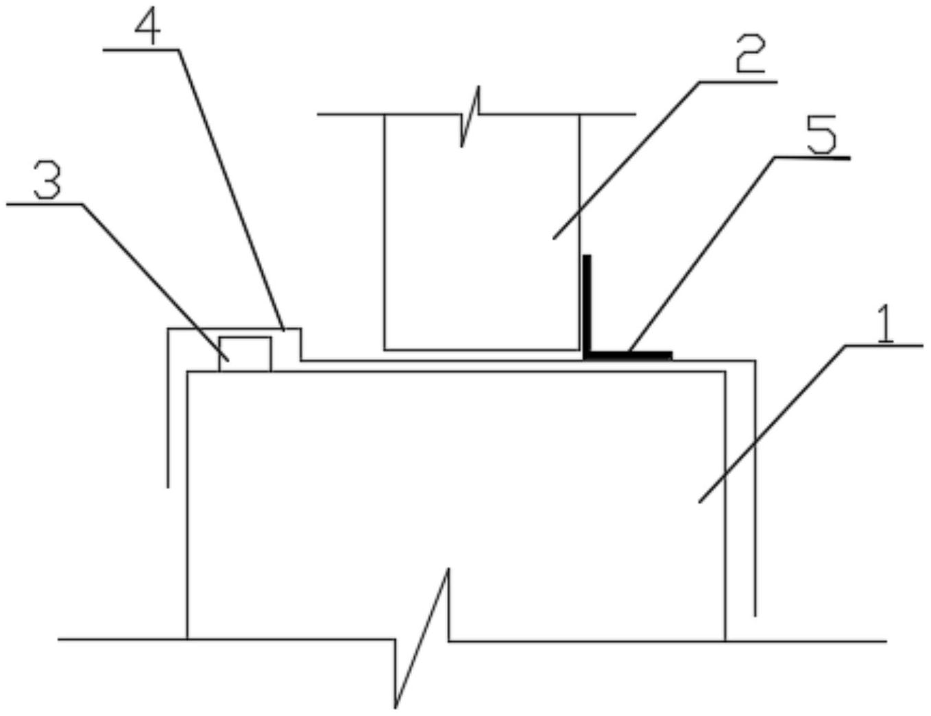
摘要
本实用新型提出了一种新型窗框边的防水结构,包括窗台以及窗台上安装的窗框,所述窗台顶端表面处于室内的一侧上设有沿窗台长度方向设置的止水条,处于室外的一侧上且位于窗框与窗台的交界处设有防水胶带。本实用新型通过在窗台和窗框的交界处贴合设置防水胶带保证水不流进间隙中,同时窗台顶端室内一侧的止水条防止水渗进房屋内,最终解决模块化房屋安装过程中缝隙容易漏水的问题,起到防水的作用。


