授权公布号:CN208660903U
油墨的搅拌装置
有效
申请
2018-07-16
申请公布
1970-01-01
授权
2019-03-29
预估到期
2028-07-16
| 申请号 | CN201821125877.3 |
| 申请日 | 2018-07-16 |
| 授权公布号 | CN208660903U |
| 授权公告日 | 2019-03-29 |
| 分类号 | B01F7/16;B01F15/00 |
| 分类 | 一般的物理或化学的方法或装置; |
| 申请人名称 | 广州市帝天印刷材料有限公司 |
| 申请人地址 | 广东省广州市白云区矮岗村第三工业区自编4号之二 |
专利法律状态
2019-03-29
授权
状态信息
授权
摘要
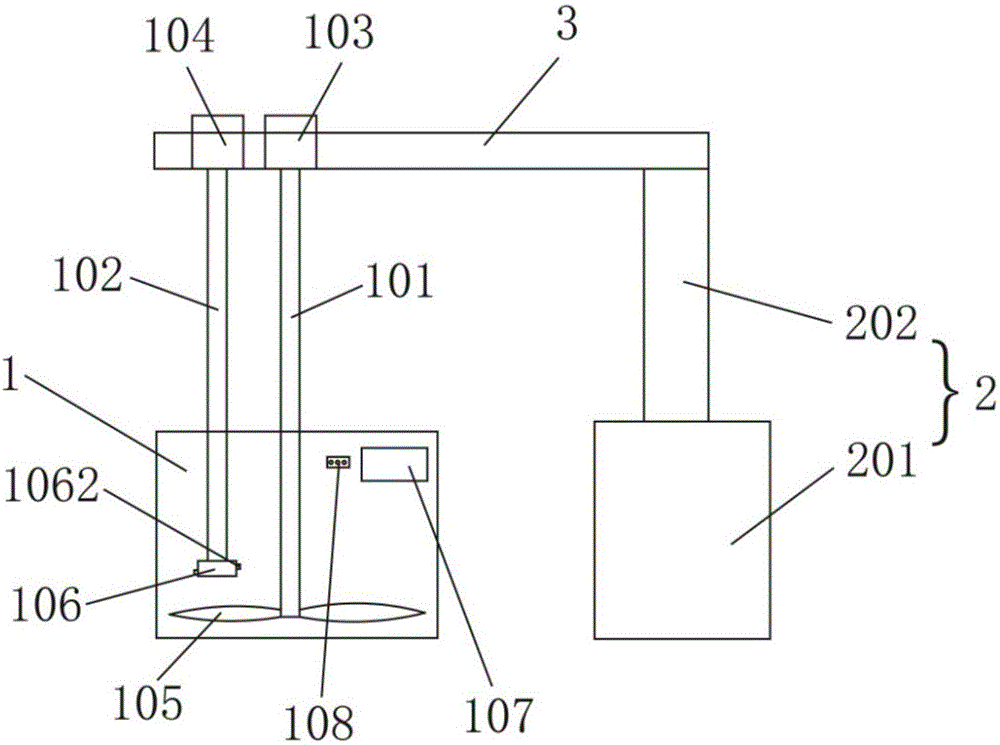
本实用新型涉及油墨生产的技术领域,公开了一种油墨的搅拌装置,通过设置第一搅拌轴和第二搅拌轴两根搅拌轴对缸体中的物料进行充分搅拌,第一搅拌轴上设有搅拌桨叶,搅拌桨叶用于旋转搅拌将物料充分混合均匀,在第二搅拌轴上设有搅拌头,搅拌头旋转用于将结块的物料打散,便于物料混合,控制元件用于控制第一电机和第二电机的转速,可以根据物料的需求控制电机的转速,实现不同速率的搅拌以达到物料的不同参数变化,保证油墨的质量。


