授权公布号:CN208661121U
油墨反应釜温度报警系统
有效
申请
2018-07-16
申请公布
1970-01-01
授权
2019-03-29
预估到期
2028-07-16
| 申请号 | CN201821125559.7 |
| 申请日 | 2018-07-16 |
| 授权公布号 | CN208661121U |
| 授权公告日 | 2019-03-29 |
| 分类号 | B01J19/18;B01J19/00 |
| 分类 | 一般的物理或化学的方法或装置; |
| 申请人名称 | 广州市帝天印刷材料有限公司 |
| 申请人地址 | 广东省广州市白云区矮岗村第三工业区自编4号之二 |
专利法律状态
2019-03-29
授权
状态信息
授权
摘要
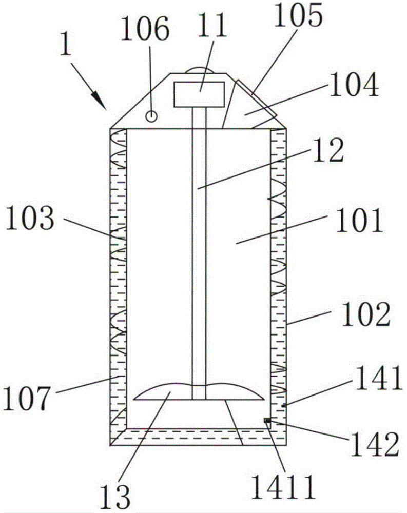
本实用新型涉及油墨生产的技术领域,公开了一种油墨反应釜温度报警系统,在反应釜中设有搅拌装置、加热装置以及警报装置,通过搅拌装置的电机驱动搅拌轴旋转带动与搅拌轴连接的搅拌叶片旋转实现对物料的搅拌混合,加热装置用于加热物料,警报装置通过探测物料的实时温度值,当物料温度值高于预设的最高温度值时,第一警报器启动报警,提醒操作人员应及时添加物料,当反应釜中的物料温度值低于最低温度值时,第一警报器也启动,提醒操作人员及时检查加热装置的工作状态,排除加热故障。


