授权公布号:CN208471512U
一种油墨灌装装置
有效
申请
2018-07-16
申请公布
1970-01-01
授权
2019-02-05
预估到期
2028-07-16
| 申请号 | CN201821126075.4 |
| 申请日 | 2018-07-16 |
| 授权公布号 | CN208471512U |
| 授权公告日 | 2019-02-05 |
| 分类号 | B67C3/28;B67C3/26;B67C3/22 |
| 分类 | 开启或封闭瓶子、罐或类似的容器;液体的贮运; |
| 申请人名称 | 广州市帝天印刷材料有限公司 |
| 申请人地址 | 广东省广州市白云区矮岗村第三工业区自编4号之二 |
专利法律状态
2019-02-05
授权
状态信息
授权
摘要
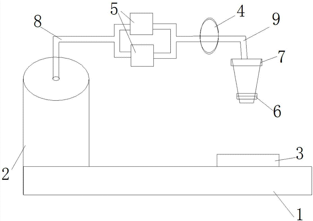
本实用新型涉及一种油墨灌装装置,包括底座、储液箱、控制器、重量传感器、输送泵、过滤箱、出液阀和延时开关,控制器分别与重量传感器、输送泵、出液阀和延时开关电连接,输送泵设有进墨管与出墨管,进墨管与储液箱连接,过滤箱至少设置两组且并联在进墨管上,延时开关设置在出墨管上,出液阀设置在出墨管的出墨口,重量传感器设置在底座上且位于出墨口的正下方,当重量传感器达到预重量时,延时开关启动将出墨口的油墨流速降低,重量传感器达到设定标准重量时,出液阀关闭。本实用新型具有避免拉丝、滴漏问题,保证产品与环境洁净的优点。


