授权公布号:CN211898042U
钢背木护栏
有效
申请
2020-03-31
申请公布
1970-01-01
授权
2020-11-10
预估到期
2030-03-31
| 申请号 | CN202020453085.X |
| 申请日 | 2020-03-31 |
| 授权公布号 | CN211898042U |
| 授权公告日 | 2020-11-10 |
| 分类号 | E01F15/02 |
| 分类 | 道路、铁路或桥梁的建筑; |
| 申请人名称 | 江苏凯键金属制品科技有限公司 |
| 申请人地址 | 江苏省常州市金坛区兴河东路18号 |
专利法律状态
2020-11-10
授权
状态信息
授权
摘要
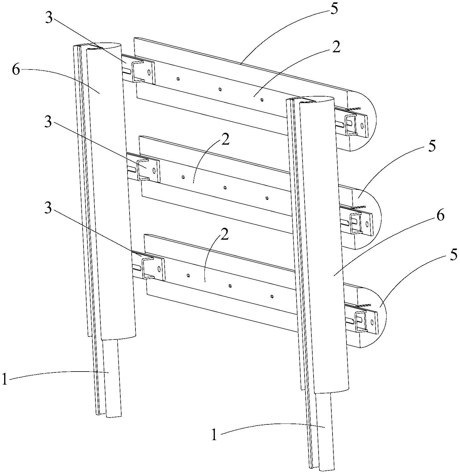
本实用新型属于道路防护技术领域。公开了一种钢背木护栏,包括多个立柱、多个钢制横梁、以及用于将各钢制横梁安装于立柱上的多个连接件和定位件,各连接件包括连接片和U型件,该连接片与U型件围合成一容纳腔,该立柱上开设有第一定位孔,该U型件上开设有滑道口,该定位件的一端依次穿过定位孔和滑道口并伸入容纳腔中。这样,通过定位件的一端穿过U型件开设的滑道口,并使得定位件在滑道口中滑动,当定位件滑动至合适位置时,此时将定位件与U型件固定,使得钢制横梁的长度在小于相邻两个立柱之间距离时可将钢制横梁安装于立柱上,避免需要拆除立柱从新安装,提高了安装的效率。


