授权公布号:CN212181591U
张力式电子围栏
有效
申请
2020-07-06
申请公布
1970-01-01
授权
2020-12-18
预估到期
2030-07-06
| 申请号 | CN202021301004.0 |
| 申请日 | 2020-07-06 |
| 授权公布号 | CN212181591U |
| 授权公告日 | 2020-12-18 |
| 分类号 | G08B13/12;G08B7/06 |
| 分类 | 信号装置; |
| 申请人名称 | 江苏凯键金属制品科技有限公司 |
| 申请人地址 | 江苏省常州市金坛区兴河东路18号 |
专利法律状态
2020-12-18
授权
状态信息
授权
摘要
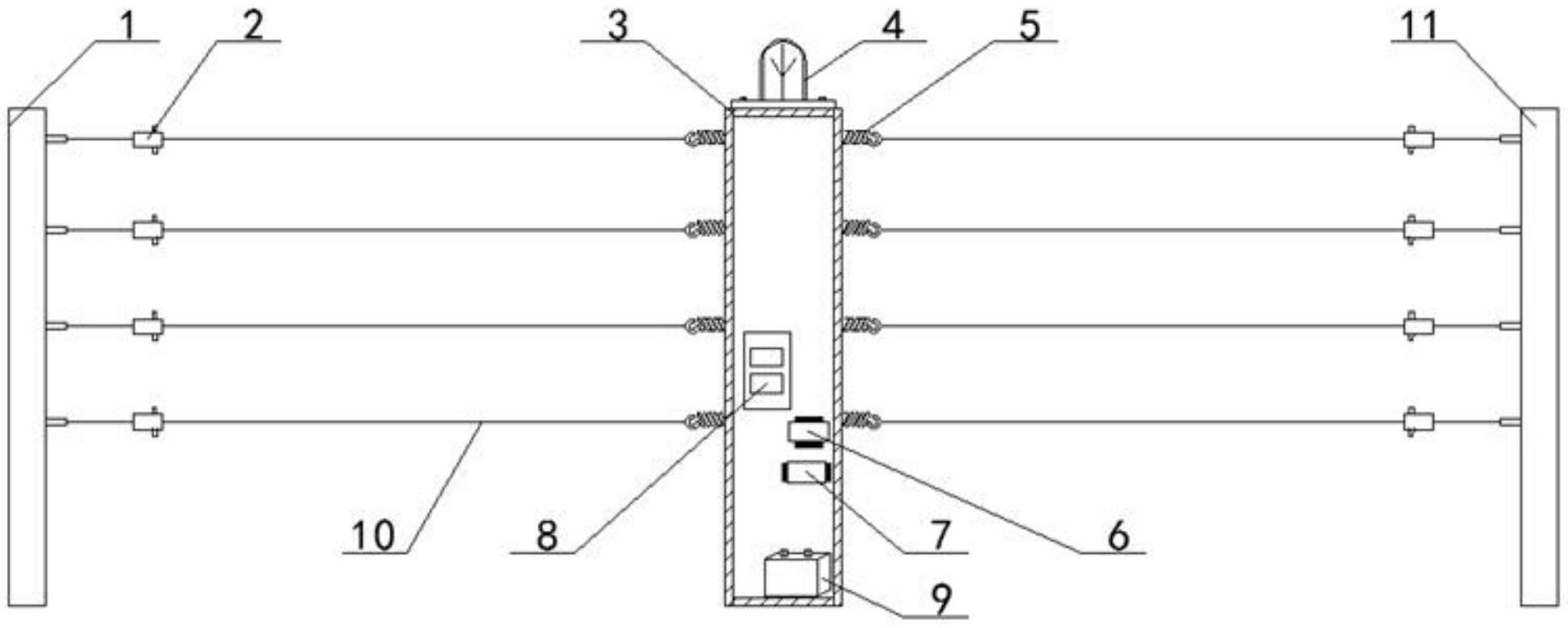
本实用新型公开了张力式电子围栏,包括第一终端杆、第二终端杆、控制杆和围栏导线,所述第一终端杆与控制杆之间固定连接有多组围栏导线,所述控制杆与第二终端杆之间固定连接有多组围栏导线,所述多组围栏导线上均安装有紧线器,所述多组围栏导线与控制杆连接处均安装有张力弹簧,所述控制杆的内部依次安装有张力探测器、控制器和无线通信模块,所述控制杆的内部的底端安装有12V电源,所述控制杆的顶部安装有声光灯。本实用新型中,首先,设有张力式结构,采用这样的结构,实现了防范入侵的目的,其次,采用声光提醒结构,这种结构的设定,是为了多种方式提醒,实现了入侵报警。


