授权公布号:CN217002544U
一种护栏接头连接结构
有效
申请
2022-01-07
申请公布
1970-01-01
授权
2022-07-19
预估到期
2032-01-07
| 申请号 | CN202220033441.1 |
| 申请日 | 2022-01-07 |
| 授权公布号 | CN217002544U |
| 授权公告日 | 2022-07-19 |
| 分类号 | F16B7/00;F16B7/20 |
| 分类 | 工程元件或部件;为产生和保持机器或设备的有效运行的一般措施;一般绝热; |
| 申请人名称 | 江苏凯键金属制品科技有限公司 |
| 申请人地址 | 江苏省常州市金坛区兴河东路18号 |
专利法律状态
2022-07-19
授权
状态信息
授权
摘要
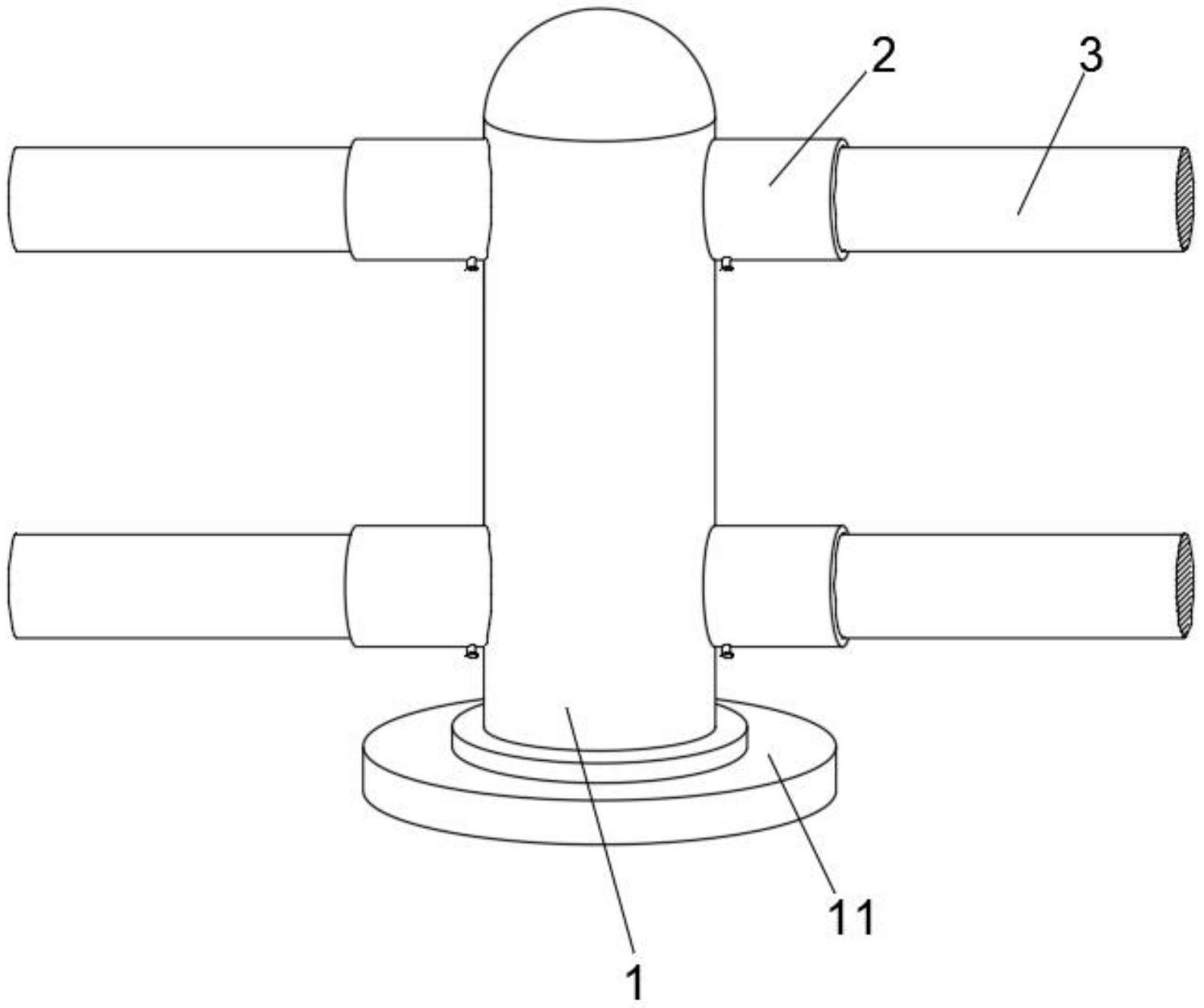
本实用新型公开了一种护栏接头连接结构,包括立柱,用于对多个护栏进行连接固定,所述立柱的侧壁对称固定连接有多个连接筒,便于对连接杆进行连接固定,多个所述连接筒的内底部靠近端面位置均固定连接有滑轨,便于连接杆的插入,从而对其进行连接固定,多个所述连接筒的内部均设置有连接杆,多个连接杆和立柱进行连接形成护栏,多个所述连接杆的底部靠近端面位置均开设有滑槽,便于连接杆的定位滑动,多个所述滑槽的内顶部靠近端面位置均开设有卡槽。本实用新型通过在立柱的连接头内设置有卡合机构,从而使得在对护栏进行安装时更加的便捷,不需要传统的螺栓对其进行固定,提高安装效率,同时方便拆卸对其进行位置的更换使用。


