授权公布号:CN207269826U
一种速冻产品整形模具及包括该模具的气动脱模装置
失效
申请
2017-06-22
申请公布
1970-01-01
授权
2018-04-27
预估到期
2027-06-22
| 申请号 | CN201720729807.8 |
| 申请日 | 2017-06-22 |
| 授权公布号 | CN207269826U |
| 授权公告日 | 2018-04-27 |
| 分类号 | A23P30/10;A23P30/00 |
| 分类 | 其他类不包含的食品或食料;及其处理; |
| 申请人名称 | 河南启明肉食品有限公司 |
| 申请人地址 | 河南省驻马店市西平县谭店乡潘庄村 |
专利法律状态
2023-07-14
专利权的终止
状态信息
未缴年费专利权终止;IPC(主分类):A23P 30/10;专利号:ZL2017207298078;申请日:20170622;授权公告日:20180427;终止日期:
2023-07-14
专利权的终止
状态信息
未缴年费专利权终止;IPC(主分类):A23P30/10;申请日:20170622;授权公告日:20180427
2018-04-27
授权
状态信息
授权
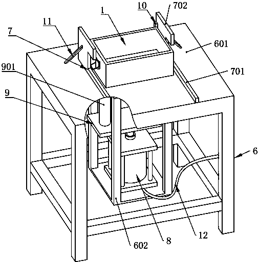
摘要
本实用新型属于冷冻食品生产设备技术领域,提供了一种速冻产品整形模具,包括槽体、盖体以及于槽体的型腔内滑动设置的内衬不锈钢板,槽体的底面开设有至少一个第一通孔,盖体与槽体间设有锁紧机构;一种气动脱模装置,包括上述的速冻产品整形模具,还包括脱模架,脱模架的顶面设有一与槽体相适配的模具槽以及开设有与第一通孔数量相同的第二通孔,脱模架上设有与供气机构连接的气缸推动式脱模机,气缸推动式脱模机工作,通过第二通孔和第一通孔实现速冻产品的磕盒脱模。本实用新型降低了劳动强度,提高了脱模效率,解决了脱模产品表面不平整的整形质量问题以及因脱膜慢而模具利用率低制约产品产量的问题。


