授权公布号:CN213654710U
一种智能防火卷帘控制器
有效
申请
2020-08-17
申请公布
1970-01-01
授权
2021-07-09
预估到期
2030-08-17
| 申请号 | CN202021707920.4 |
| 申请日 | 2020-08-17 |
| 授权公布号 | CN213654710U |
| 授权公告日 | 2021-07-09 |
| 分类号 | E06B9/08;E06B7/28;E06B9/56;E06B9/74;E06B9/68 |
| 分类 | 一般门、窗、百叶窗或卷辊遮帘;梯子; |
| 申请人名称 | 郑州光大百纳科技股份有限公司 |
| 申请人地址 | 河南省郑州市高新技术开发区合欢西街5号 |
专利法律状态
2021-07-09
授权
状态信息
授权
摘要
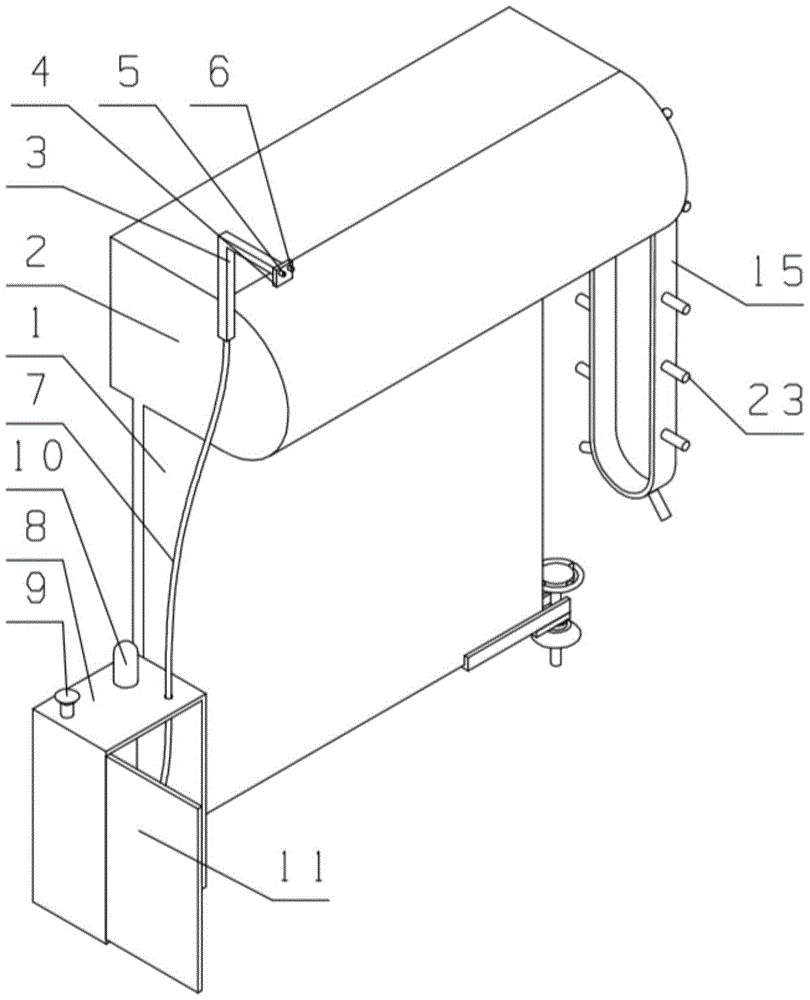
本实用新型公开了一种智能防火卷帘控制器,涉及控制器技术领域,具体为一种智能防火卷帘控制器,包括卷帘门,所述卷帘门的顶部固定安装有卷收箱,所述卷收箱的一侧焊接有支杆。该智能防火卷帘控制器,通过配电箱和导线管的设置,使该控制器具备了控制效果好,动作灵敏的效果,通过点型感烟火灾探测器和点型感温火灾探测器的配合设置,在使用的过程中可以通过由一个点型感烟火灾探测器和一个点型感温火灾探测器组成的火灾探测器可以接收其火灾温度报警信号和烟雾报警信号,通过控制PCB使卷帘门完成相应动作,并通过处理器触发警报扬声器和警报灯发出防火卷帘动作声、光指示信号,从而起到了智能化程度高的作用,达到了实用性高的目的。


